授权专利
【实用新型】一种心内科护理用按压止血装置
公开(公告)号: CN215606002U
摘要附图:

标题: 一种心内科护理用按压止血装置
专利类型: 实用新型
申请日: 2021-01-19
公开(公告)日: 2022-01-25
发明人: 杨蕊
当前申请(专利权)人: 首都医科大学附属北京潞河医院
IPC分类号: A61B17/12 | A61F13/02
法律状态/事件: 授权 | 权利转移
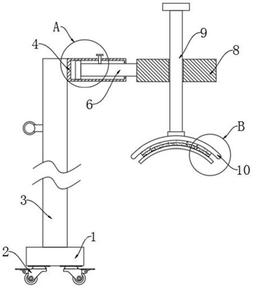
技术功效: [0013]1.该心内科护理用按压止血装置,通过设置丝杆、弧形按压板和止血棉垫,便于穿刺部位的止血,通过设置固定筒、滑动块、移动杆和固定螺栓,便于调节弧形按压板的位置,从而使该装置能够替代医生对穿刺部位进行按压止血,避免了长期按压穿刺部位医生体力的消耗。 [0014]2.该心内科护理用按压止血装置,通过设置带刹车万向轮,便于该装置的移动和固定,通过设置魔术贴子贴和魔术贴母贴,便于止血棉垫的更换,从而使该装置达到便于使用的效果。
摘要: 本实用新型公开了一种心内科护理用按压止血装置,包括底板,所述底板的下表面固定连接有带刹车万向轮,所述底板的上表面固定连接有连接板,所述连接板的侧面固定连接有固定筒,所述固定筒的内壁滑动连接有滑动块,所述滑动块的侧面固定连接有移动杆,所述固定筒的表面螺纹连接有固定螺栓,所述移动杆远离固定筒的一端固定连接有调节板,所述调节板的上表面螺纹连接有丝杆。该心内科护理用按压止血装置,通过设置丝杆、弧形按压板和止血棉垫,便于穿刺部位的止血,通过设置固定筒、滑动块、移动杆和固定螺栓,便于调节弧形按压板的位置,从而使该装置能够替代医生对穿刺部位进行按压止血,避免了长期按压穿刺部位医生体力的消耗。

























