授权专利
【实用新型】一种乳头内陷术后牵拉固定装置
公开(公告)号: CN215688834U
摘要附图:

标题: 一种乳头内陷术后牵拉固定装置
专利类型: 实用新型
申请日: 2021-10-09
公开(公告)日: 2022-02-01
发明人: 赵洪宇
当前申请(专利权)人: 首都医科大学附属北京潞河医院
IPC分类号: A61F5/01 | A61F13/14
法律状态/事件: 授权
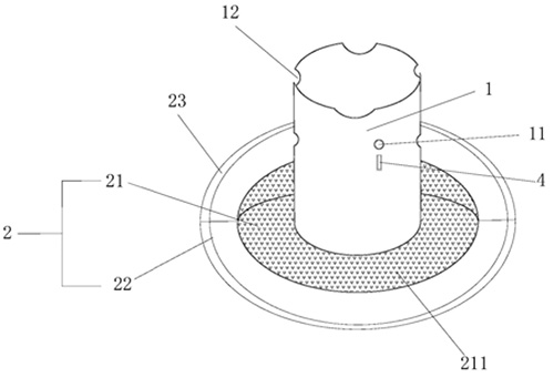
技术功效: [0027]本实用新型提供的一种乳头内陷术后牵拉固定装置,通过设置保护套管上的牵引结构,用于固定乳头牵引线,使用时稳定性更好,更加能够确保患者的使用安全性,并且保护套管底部的底座包括弧形结构,结合弧形结构底部设置的按压垫,更加贴合乳头周侧的同时,可吸收创面渗出液,并且避免底座直接贴于皮肤表面,减轻底座对手术创面的摩擦力,按压垫柔软舒适,可有效地降低患者使用时不适感,有利于创面的愈合更加满足患者的使用需求。
摘要: 本实用新型提供了一种乳头内陷术后牵拉固定装置,涉及医疗用具技术领域,以解决现有技术中存在的临时牵拉固定装置由于底部无其他附着物,直接贴于皮肤,很大程度上增加底部对手术创面的摩擦力,降低病人术后舒适度的同时影响创面愈合的技术问题,该装置包括保护套管,设置为中空结构,保护套管上设置有牵引结构,用于固定乳头牵引线;底座,连接于保护套管的底部,设置为包括高度沿中心处向周侧逐渐降低的弧形结构;按压垫,连接于底座上,用于与皮肤的创面贴合,本实用新型用于提高使用的舒适性并且避免对手术创面愈合的影响。

























