授权专利
【实用新型】一种胫骨平台后内后外侧解剖锁定接骨板
公开(公告)号: CN215129910U
摘要附图:

标题: 一种胫骨平台后内后外侧解剖锁定接骨板
专利类型: 实用新型
申请日: 2021-03-04
公开(公告)日: 2021-12-14
发明人: 龙安华 | 韩大成 | 王嘉龙 | 贾梓超 | 王雪飞 | 张亚奎
当前申请(专利权)人: 首都医科大学附属北京潞河医院
IPC分类号: A61B17/80
法律状态/事件: 授权
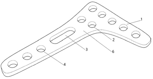
技术功效: [0014]本实用新型实现后内侧单一入路复位固定胫骨后内侧及后外侧平台骨折,达到微创手术并降低传统后方手术入路并发症的效果。 [0015](1)解剖型接骨板有助于胫骨后侧平台骨折的复位及支撑固定; [0016](2)通过倒L型的接骨板设计使支撑部分位于相对安全和易于显露的后内侧骨面; [0017](3)近排螺钉设计为垂直于胫骨干,避免螺钉穿入关节内;方向从后内偏向前外,利于手术操作; [0018](4)干骺端的两枚螺钉为后外平台支撑螺钉,胫骨干部设计一枚结合孔螺钉及两枚锁定螺钉孔。 [0019]本实用新型胫骨平台后内后外侧解剖锁定接骨板可采用钛合金3D打印材料,具有比强度高、热强度高、抗蚀性好、低温性能好的优点。
摘要: 本实用新型提供了一种胫骨平台后内后外侧解剖锁定接骨板,其特征在于,包括近端一排螺钉孔、第二排螺钉孔、干骺端较长结合孔、远端螺钉孔、内部加强筋结构和接骨板板体;所述接骨板板体为带孔的倒“L”形板,与胫骨近段后侧骨面的解剖学帖服,所述近端一排螺钉孔和所述第二排螺钉孔上下排列在横向的所述接骨板板体上,所述干骺端较长结合孔和所述远端螺钉孔上下排列在竖向所述接骨板板体上,所述接骨板板体内部为带有所述内部加强筋结构的空心结构。本实用新型有助于胫骨后侧平台骨折的复位及支撑固定;内部加强筋结构使接骨板更加轻巧的同时又不失支撑力;近排螺钉设计为垂直于胫骨干,利于手术操作。

























