授权专利
【实用新型】一种辅助注射器定量抽取设备
公开(公告)号: CN215193783U
摘要附图:

标题: 一种辅助注射器定量抽取设备
专利类型: 实用新型
申请日: 2021-04-29
公开(公告)日: 2021-12-17
发明人: 范雪琴
当前申请(专利权)人: 首都医科大学附属北京潞河医院
IPC分类号: A61J1/22
法律状态/事件: 授权
技术功效: [0013]本实用新型取代了传统人工手动抽取药液的形式,具有便捷、精准的药液抽取功能,其在使用过程中,通过将注射器放置在注射器基座上,在推送滑座带动注射器推柄头的抽取下,能够对药液进行精准、便捷的抽取工作,且在使用过程中,通过夹子与卡箍机构的配套组合,能够便于将药物基座连接在药瓶或药袋上,以便于医疗人员对药液进行多次循环抽取工作。
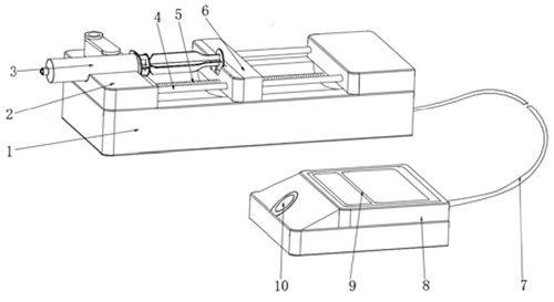
摘要: 本实用新型涉及注射器注射技术领域,公开了一种辅助注射器定量抽取设备,为了提高注射器抽取药液的便捷性,所述推送滑座的一侧设置有第一卡扣,所述容置卡槽的一侧设置有第二卡扣,且容置卡槽的内侧嵌入卡合有注射器,所述药物基座的下方位于一端位置处对称设置有夹子,所述药物基座的下方位于中部位置处嵌入设置有卡箍机构。本实用新型取代了传统人工手动抽取药液的形式,其在使用过程中,通过将注射器放置在注射器基座上,在推送滑座带动注射器推柄头的抽取下,能够对药液进行精准、便捷的抽取工作,且在使用过程中,通过夹子与卡箍机构的配套组合,能够便于将药物基座连接在药瓶或药袋上。

























