授权专利
【实用新型】一种防脱管液体药品包装袋
公开(公告)号: CN215134741U
摘要附图:

标题: 一种防脱管液体药品包装袋
专利类型: 实用新型
申请日: 2021-05-11
公开(公告)日: 2021-12-14
发明人: 孟娜
当前申请(专利权)人: 首都医科大学附属北京潞河医院
IPC分类号: A61M5/14 | A61J1/14
法律状态/事件: 授权
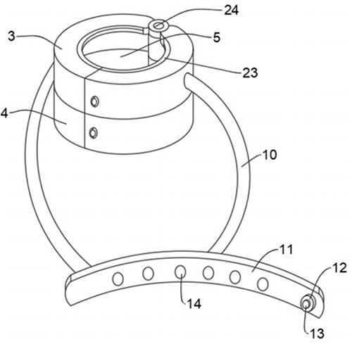
技术功效: [0015]1、本实用新型设有安全卡扣,便于将瓶口卡合,由于上卡扣与下卡扣均设有通槽,故便于将瓶口卡合,其中安全卡扣分为上卡扣与下卡扣,上卡扣与下卡扣内均设有第一凹槽,第一凹槽内设有若干第一弹簧,故第一弹簧具有缓冲效果,可将连接带拉起,可防止输液器掉落,卡合更加牢固; [0016]2、本实用新型设有调节带,可将输液器固定,由于调节带一端设有按扣,调节带上开设有若干扣眼,故可将按扣扣合在扣眼内,由于按扣上设有第一吸铁石,扣眼内设有第二吸铁石,故第一吸铁石与第二吸铁石吸合,便于将调节带扣合,将输液器固定,方便将调节带扣合打开。
摘要: 本实用新型公开了一种防脱管液体药品包装袋,包括包装袋本体,所述包装袋本体瓶口设有安全卡扣,所述安全卡扣分为上卡扣与下卡扣,所述上卡扣与所述下卡扣均设有通槽,所述上卡扣与所述下卡扣内均设有第一凹槽,所述第一凹槽内设有若干第一弹簧,所述上卡扣与所述下卡扣均设有第一夹具与第二夹具,所述上卡扣两侧设有连接带,所述连接带下端连接有调节带,所述调节带一端设有按扣,所述按扣上设有第一吸铁石,所述调节带上开设有若干扣眼,若干所述扣眼内设有第二吸铁石,所述调节带扣合在输液器上,本防脱管液体药品包装袋拆卸方便,卡合牢固,增加了使用的安全性。

























