授权专利
【实用新型】腿部复健装置
公开(公告)号: CN215900270U
摘要附图:

标题: 腿部复健装置
专利类型: 实用新型
申请日: 2021-06-25
公开(公告)日: 2022-02-25
发明人: 冷艳美
当前申请(专利权)人: 首都医科大学附属北京潞河医院
IPC分类号: A61H1/02 | A61H7/00
法律状态/事件: 授权
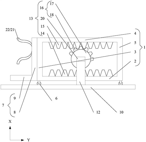
技术功效: [0019]1、本实用新型提供的腿部复健装置的轮齿与第一齿条、第二齿条啮合,传动轴一端与电机连接,另一端与主体的中心孔连接,电机启动时,传动轴带动扇形齿轮旋转,使扇形齿轮的轮齿顺次与第一齿条、第二齿条啮合,使箱体在导轨上往复运动,结构简单,传动效率高,机械损失小。 [0020]2、本实用新型提供的腿部复健装置的导轨与滑轮滑动连接,箱体往复运动时,更加稳定。 [0021]3、本实用新型提供的腿部复健装置的固定装置设置于第一放置板远离第二板的一侧,与足部相匹配,能够固定使用者的足部,安全性更高,也能保证腿部始终处于正确的姿势,使用效果更好。 [0022]当然,实施本实用新型的任一产品必不特定需要同时达到以上所述的所有技术效果。 [0023]通过以下参照附图对本实用新型的示例性实施例的详细描述,本实用新型的其它特征及其优点将会变得清楚。
摘要: 本实用新型公开了一种腿部复健装置,包括:箱体,包括顺次连接的第一板、第二板、第三板和第四板,第一板远离第三板一侧设有滑轮;L型放置板与第二板远离第四板一侧连接;底板包括与滑轮滑动连接的导轨,底板靠近箱体一侧设有支柱;传动装置包括第一齿条、第二齿条和位于第一齿条与第二齿条之间的扇形齿轮,扇形齿轮包括主体,主体的第一区域设有轮齿,轮齿与第一齿条、第二齿条啮合;电机设置于支柱远离底板一侧,传动轴一端与电机连接,另一端与主体的中心孔连接;还包括固定装置。电机通过传动轴带动扇形齿轮旋转,使扇形齿轮的轮齿顺次与第一齿条、第二齿条啮合,使箱体在导轨上往复运动,结构简单,传动效率高,机械损失小。

























