授权专利
【实用新型】一种喉罩置入可视喉镜
公开(公告)号: CN211911561U
摘要附图:

标题: 一种喉罩置入可视喉镜
专利类型: 实用新型
申请日: 2019-12-19
公开(公告)日: 2020-11-13
发明人: 靖智利
当前申请(专利权)人: 首都医科大学附属北京潞河医院
IPC分类号: A61B1/267 | A61B1/04 | A61B1/06
法律状态/事件: 授权
技术功效: -
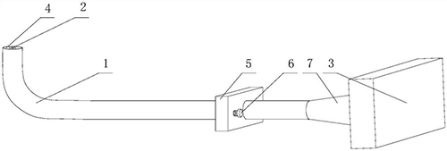
摘要: 本实用新型公开了一种喉罩置入可视喉镜,包括镜杆,所述镜杆的前端连接有摄像头,镜杆的后端连接有显示屏,所述摄像头与显示屏电连接,所述镜杆的前端弯曲;通过使用本装置,操作者在插入喉罩的过程中可以一边插入一边观察,便于操作者精准插入喉罩。

























