授权专利
【实用新型】一种骨关节恢复用辅助装置
公开(公告)号: CN210813728U
摘要附图:

标题: 一种骨关节恢复用辅助装置
专利类型: 实用新型
申请日: 2019-04-18
公开(公告)日: 2020-06-23
发明人: 张桂然 | 赵峰 | 李玉生
当前申请(专利权)人: 首都医科大学附属北京潞河医院
IPC分类号: A63B23/04
法律状态/事件: 未缴年费
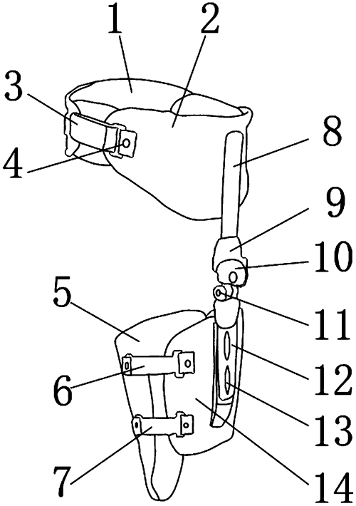
技术功效: [0011]与现有技术相比,本实用新型的有益效果是:本实用新型利用金属铆钉对各个组件之间进行铰接,起到加强固定的作用;第一大腿环箍的一端通过调节卡扣与第二大腿环箍相固定,调节卡扣上安装有松紧带,利用调节卡扣可调节两个环箍之间的松紧度,使得支具佩戴更加牢固和舒服;铰接器通过卡盘锁与固定板相连接,卡盘锁通过限位螺丝与铰接器相固定,卡盘锁底部活动轴与外展铰链相连接,卡盘锁可用来调节铰接器的活动角度,通过设置有高强度合金外展铰链,可以任意调节和限制髋关节外展和内收,髋关节屈伸角度,并可对活动范围限位,起到良好的辅助保护作用;第二小腿支护板和第一小腿支护板表面均设置有透气孔,透气孔起到透气效果,便于骨关节恢复。
摘要: 本实用新型公开了一种骨关节恢复用辅助装置,包括第一大腿环箍,所述第一大腿环箍的一端通过调节卡扣与第二大腿环箍相固定,且调节卡扣上安装有松紧带,所述第二大腿环箍的一端通过外展支架与铰接器相固定,所述铰接器通过卡盘锁与固定板相连接,所述卡盘锁的表面设置有限位孔,所述卡盘锁通过限位螺丝与铰接器相固定,所述卡盘锁底部活动轴与外展铰链相连接,所述固定板表面设置有固定孔,所述固定板通过螺栓穿过固定孔与第一小腿支护板相固定,所述第一小腿支护板的一端分别通过第一魔术贴绑带和第二魔术贴绑带与第二小腿支护板连接。本实用新型解决了目前骨关节恢复用辅助装置对骨关节防护效果较差,调节范围受限等问题。

























