授权专利
【实用新型】用于抽取胃液和胃残留物的装置
专利号:ZL202022764083.5
申请日:20201125
发明人:周灵燕
法律状态:授权
公开号:CN213884467U
授权公告日:2021-08-06
交易方式:转让; 许可
【摘要】:
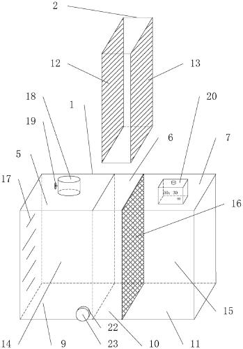
本实用新型公开了一种用于抽取胃液和胃残留物的装置,包括:盒体和消毒盒。盒体包括侧表面,顶面和底面,顶面包括顺次设置的第一区、第二区和第三区,底面包括顺次设置的第四区、第五区和第六区;第二区为开口区,消毒盒可拆卸连接在第二区和第五区之间;消毒盒包括第一挡板和第二挡板,消毒盒内为消毒液;侧表面、第一区、第四区和第一挡板形成负压腔,侧表面、第三区、第六区和第二挡板形成正压腔;形成负压腔的侧表面设有刻度线,负压腔设有抽吸口,抽吸口设有第一开关;盒体外壁设有定时器。通过负压腔中的负压将患者胃中残留物吸出,通过正压腔可将负压腔中的残留物挤回,操作简单,胃残留物不易被污染,更加安全。
【技术领域】:
本实用新型涉及医疗器械领域,更具体地,涉及一种用于抽取胃液和胃残留物的装置。
【实用新型内容】:
本实用新型提供了一种用于抽取胃液和胃残留物的装置,其特征在于,包括:盒体和消毒盒;
所述盒体包括侧表面,相对设置的顶面和底面,所述顶面包括顺次设置的第一区、第二区和第三区,所述底面包括顺次设置的第四区、第五区和第六区;
沿所述底面指向所述顶面的方向上,所述第一区和所述第四区重合,所述第二区和所述第五区重合,所述第三区和所述第六区重合;
所述第二区为开口区,所述消毒盒可拆卸连接在所述第二区和所述第五区之间;
沿平行于所述底面所在平面的方向上,所述消毒盒包括相对设置的第一挡板和第二挡板,所述第一挡板沿垂直于所述底面方向上与所述侧表面相对运动,所述消毒盒内为消毒液;
所述侧表面、所述第一区、所述第四区和所述第一挡板形成负压腔,所述侧表面、所述第三区、所述第六区和所述第二挡板形成正压腔;
所述正压腔靠近所述第二挡板一侧设有弹性软膜;
形成所述负压腔的所述侧表面设有刻度线,所述刻度线沿所述底面指向所述顶面的方向上延伸;
所述负压腔设有抽吸口,所述抽吸口设有第一开关;
所述盒体外壁设有定时器。
优选地,所述刻度线的0刻度与所述底面重合。
优选地,所述定时器包括计时按钮,所述定时器的计时时间为30分钟。
优选地,所述抽吸口设置于所述顶面。
优选地,还包括倾倒口,形成所述负压腔的所述侧表面靠近所述底面一端设有所述倾倒口。
优选地,所述倾倒口设有端盖,所述端盖与所述倾倒口可拆卸连接。与现有技术相比,本实用新型提供的用于抽取胃液和胃残留物的装置,至少实现了如下的有益效果:
1、本实用新型提供的用于抽取胃液和胃残留物的装置设有正压腔和负压腔,可利用负压腔中的负压将患者胃中残留物吸出,通过正压腔可将负压腔中的残留物挤回,操作简单,胃残留物不易被污染,更加安全。
2、本实用新型提供的用于抽取胃液和胃残留物的装置中第一挡板沿垂直于底面方向上与侧表面相对运动,拉动第一挡板可将消毒盒内的消毒液与负压腔中吸出的胃残留物混合进行消毒,符合处理规范,方便且卫生。
3、本实用新型提供的用于抽取胃液和胃残留物的装置设有刻度线,便于观察胃残留物的量,结果精确。
【附图】:



























