授权专利
【实用新型】一种肢体辅助抬高摆放支架
专利号:ZL202023156288.1
申请日:20201224
发明人:李莎莎
法律状态:授权
公开号:CN214632736U
授权公告日:2021-11-09
交易方式:转让; 许可
【摘要】:
本实用新型公开了一种肢体辅助抬高摆放支架,包括:用于托举上肢的支具、用于支撑支具的底座、以及用于连接支具和底座的连接部;所述底座的下端面为平面,底座的上端通过连接部活动连接支具的下端中部;且支具通过连接部相对于底座自由活动,自由活动包括:旋转运动;所述支具包括:主体部分和副体部分,所述主体部分呈横向延伸状;通过连接部,支具能够实现任意的旋转运动、以及任意方向的倾斜或摆动,完全满足使用需求;设置的支具包括:主体部分和副体部分,副体部分位于主体部分的端部,且副体部分的面积、直径均大于主体部分,所以副体部分能够更好地支撑手掌、腕部或胳膊拐等肢体部位,本实用新型对肢体的支撑性强。
【技术领域】:
本实用新型涉及医疗用具领域,特别涉及一种肢体辅助抬高摆放支架。
【实用新型内容】:
一种肢体辅助抬高摆放支架,包括:用于托举上肢的支具、用于支撑支具的底座、以及用于连接支具和底座的连接部;
所述底座的下端面为平面,底座的上端通过连接部活动连接支具的下端中部;且支具通过连接部相对于底座自由活动,自由活动包括:旋转运动;
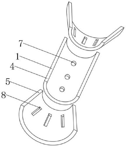
所述支具包括:主体部分和副体部分,所述主体部分呈横向延伸状,且主体部分具有开口朝向上方的第一容纳槽,容纳槽向下凹陷;所述副体部分的数量为两个,两个副体部分分别固定连接在主体部分的两端部,且两个副体部分均具有开口朝向上方的第二容纳槽,所述第一容纳槽和第二容纳槽之间连通,且第二容纳槽的直径朝远离第一容纳槽的方向逐渐变大。
作为上述方案的优化,所述底座的俯视截面为矩形,且底座的俯视截面面积小于支具的俯视截面面积。
作为上述方案的优化,所述第一容纳槽的底面向下贯穿设有多个用于通气的圆孔,所述第二容纳槽的底面向下贯穿设有多个用于通气的方孔。
作为上述方案的优化,所述连接部包括:第一支块、第二支块、以及圆球;所述第一支块固定连接主体部分的下端中部,第二支块固定连接底座的上端中部,第一支块、第二支块位于同一铅垂线,且第一支块、第二支块相互靠近的一端均设有球形凹槽,所述圆球设置在第一支块、第二支块之间,圆球的上下端均嵌接在球形凹槽内,且球形凹槽、圆球的表面均为光滑面。
作为上述方案的优化,所述第二支块的球形凹槽内设有环形槽,环形槽内填充小滑球,所述小滑球的外侧与圆球贴合。
作为上述方案的优化,所述底座的上端和支具的下端之间具有侧向支撑件,侧向支撑件的上端固定连接支具的下端,侧向支撑件的下端固定连接滑块,所述底座的上端对应滑块设有环形的滑槽,滑块嵌接在滑槽内,所述侧向支撑件为弹簧,且侧向支撑件的数量为四个,四个侧向支撑件分别位于底座的上端四角处。
本实用新型的技术效果和优点:
1.本实用新型的一种肢体辅助抬高摆放支架,包括:用于托举上肢的支具、用于支撑支具的底座、以及用于连接支具和底座的连接部;通过连接部,支具能够实现任意的旋转运动、以及任意方向的倾斜或摆动,完全满足使用需求、实用性强;
2.设置的支具包括:主体部分和副体部分,副体部分位于主体部分的端部,且副体部分的面积、直径均大于主体部分,所以副体部分能够更好地支撑手掌、腕部或胳膊拐等肢体部位,也就是说,本实用新型对肢体的支撑性强;
3.本实用新型的一种肢体辅助抬高摆放支架,为了达到更好的支撑性,设置的圆球实现支具相对于底座的任意倾斜、摆放、以及旋转功能,设置的侧向支撑件对支具的倾斜、歪斜形成有效的侧支撑避免支具倾斜过大导致伤害肢体,且侧向支撑件与底座滑动连接以跟随并配合支具的旋转,实用性强。
【附图】:





























