授权专利
【实用新型】一种一次性使用医用无菌敷料
专利号:ZL202022761175.8
申请日:20201125
发明人:陈万臣
法律状态:授权
公开号:CN213851428U
授权公告日:2021-08-03
交易方式:转让; 许可
【摘要】:
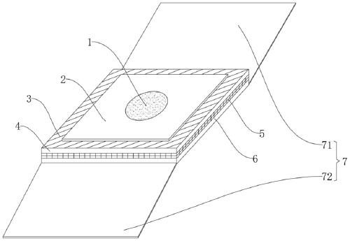
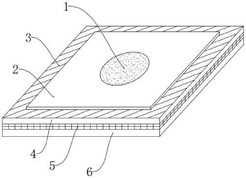
本实用新型涉及一种一次性使用医用无菌敷料,包括面层(6),所述面层(6)一侧与储液层(5)连接,所述储液层(5)一侧设置有吸湿层(4),所述吸湿层(4)中部为槽体结构,其中,所述槽体内用于安装贴合面料(2),所述贴合面料(2)一侧设置有凸起(1)。本实用新型通过设置的储液层,可以将吸湿层内的液体吸附,并且将贴合面料安装于槽体结构内,可以方便拆卸和组合,通过在贴合面料一侧设置凸起,可以将凸起压迫于穿刺点,预防渗液。
【技术领域】:
本实用新型涉及医疗器械技术领域,尤其涉及一种一次性使用医用无菌敷料。
【实用新型内容】:
本实用新型实施例公开了一种一次性使用医用无菌敷料,包括面层,所述面层一侧与储液层连接,所述储液层一侧设置有吸湿层,所述吸湿层中部为槽体结构,其中,所述槽体内用于安装贴合面料,所述贴合面料一侧设置有凸起。
在上述任一方案中优选的是,一次性使用医用无菌敷料,还包括粘结部,所述粘结部与所述面层连接,可设置于所述面层的侧面或底面。
在上述任一方案中优选的是,所述粘结部包括第一魔术贴和第二魔术贴,所述第一魔术贴和第二魔术贴的一端分别与所述面层的两侧连接;
当不用时,所述第一魔术贴和第二魔术贴叠合在所述面层的一侧,并相互粘结。
在上述任一方案中优选的是,一次性使用医用无菌敷料,还包括第一粘合部,所述第一粘合部设置于所述储液层一侧,且所述第一粘合部面积接近于所述槽体结构的面积,以实现所述贴合面料一侧与所述第一粘合部粘结。
在上述任一方案中优选的是,一次性使用医用无菌敷料,还包括第二粘合部,所述第二粘合部设置于所述吸湿层一侧,并远离所述储液层与所述吸湿层之间的接触层。
在上述任一方案中优选的是,一次性使用医用无菌敷料,还包括磁疗片,所述磁疗片设置于所述储液层一侧,并粘结于所述第一粘合部上。
在上述任一方案中优选的是,所述吸湿层为无纺布层。
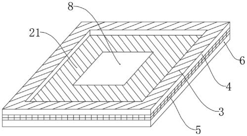
在上述任一方案中优选的是,所述贴合面料内设置有夹芯层,所述夹芯层包括无纺布和中药包,
其中,所述无纺布包裹在所述中药包外。
在上述任一方案中优选的是,所述凸起与所述贴合面料粘结。
与现有技术相比,本实用新型实施例一次性使用医用无菌敷料,通过设置的储液层,可以将吸湿层内的液体吸附,并且将贴合面料安装于槽体结构内,可以方便拆卸和组合,通过在贴合面料一侧设置凸起,可以将凸起压迫于穿刺点,预防渗液。
通过设置粘结部,可以将粘结部与面层连接,并且可设置于面层的侧面或底面,因此,可以通过粘结部将敷料固定,方便使用。
【附图】:





























