授权专利
【实用新型】一种行走辅助器
专利号:ZL202022482607.1
申请日:20201030
发明人:杨林
法律状态:授权
公开号:CN213526282U
授权公告日:2021-06-25
交易方式:转让; 许可
【摘要】:
本实用新型公开了一种行走辅助器,包括辅助器框架、臂托和启停按键;辅助器框架包括支撑柱及横梁,支撑柱包括第一支撑柱、第二支撑柱、第三支撑柱和第四支撑柱,横梁包括第一横梁、第二横梁和第三横梁;其中,臂托包括第一臂托和第二臂托,第一臂托位于第一连接部远离第一横梁的一侧,第二臂托位于第二连接部远离第二横梁的一侧,第一臂托和第二臂托均包括握持部和支撑部,启停按键位于第一臂托/第二臂托的握持部朝向所述支撑部的一侧。使用者在行走过程中将双臂支撑在支撑部、将双手扶握在握持部,如此有利于保持身体平衡、降低摔倒的风险,使用者通过启停按键灵活控制滚轮的停止,避免因上、下肢速度不同而滑倒,提高了行走辅助器的安全性。
【技术领域】:
本实用新型涉及医疗器械领域,更具体地,涉及一种行走辅助器。
【实用新型内容】:
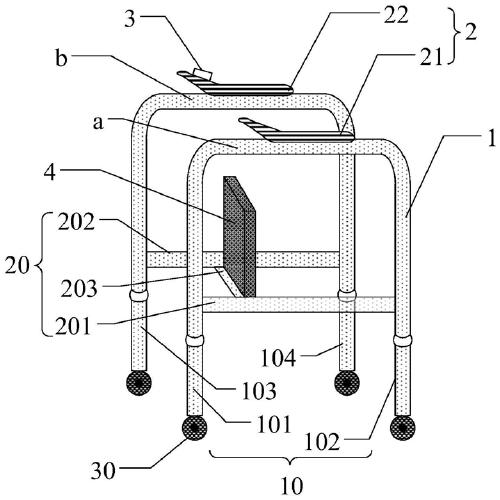
本实用新型提供了一种行走辅助器,包括辅助器框架、臂托和启停按键;
所述辅助器框架包括支撑柱及横梁,所述支撑柱包括第一支撑柱、第二支撑柱、第三支撑柱和第四支撑柱,所述横梁包括第一横梁、第二横梁和第三横梁;
其中,所述第一支撑柱与所述第二支撑柱通过所述第一横梁固定连接,所述第三支撑柱与所述第四支撑柱通过所述第二横梁固定连接,所述第一横梁与所述第二横梁通过所述第三横梁固定连接;
所述第一支撑柱的第一端和所述第二支撑柱的第一端通过所述第一连接部连接,所述第三支撑柱的第一端和所述第四支撑柱的第一端通过所述第二连接部连接,且所述第一支撑柱、第二支撑柱、第三支撑柱和第四支撑柱的第二端均设置有滚轮;
所述臂托包括第一臂托和第二臂托,所述第一臂托位于所述第一连接部远离所述第一横梁的一侧,所述第二臂托位于所述第二连接部远离所述第二横梁的一侧,所述第一臂托和所述第二臂托均包括握持部和支撑部,所述启停按键位于所述第一臂托/第二臂托的所述握持部朝向所述支撑部的一侧。
可选地,所述握持部与所述支撑部之间的夹角为钝角。
可选地,所述握持部与所述支撑部之间的夹角为α,其中,90°≤α≤120°。
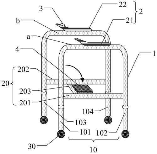
可选地,还包括可折叠座板,所述可折叠座板与所述第三横梁固定连接。
可选地,制作所述辅助器框架的材料包括铝合金。
可选地,每个所述支撑柱均包括第一支撑杆和第二支撑杆,所述第一支撑杆靠近所述第二支撑杆的一侧包括多个第一调节孔,所述第二支撑杆靠近所述第一支撑杆的一侧包括多个第二调节孔,所述第一调节孔与所述第二调节孔通过螺栓适配。
可选地,所述滚轮为万向轮。
与现有技术相比,本实用新型提供的一种行走辅助器,至少实现了如下的有益效果:
本申请所提供的行走辅助器设置有第一臂托和第二臂托,使用者在行走时可以将双臂分别支撑在第一臂托和第二臂托上,如此能够提高使用者的重心的稳定性,有利于保持身体平衡、降低摔倒的风险;
本申请所提供的行走辅助器中,第一臂托和第二臂托均包括握持部和支撑部,且握持部上设置有启停按键,使用者在行走过程中将双臂支撑在支撑部、将双手扶握在握持部,此种设计方式能够使使用者通过启停按键灵活控制滚轮的停止,避免因上、下肢速度不同而滑倒,提高了行走辅助器的安全性。
当然,实施本实用新型的任一产品必不特定需要同时达到以上所述的所有技术效果。
通过以下参照附图对本实用新型的示例性实施例的详细描述,本实用新型的其它特征及其优点将会变得清楚。
【附图】:





























