授权专利
【实用新型】一种新型滑布中单
专利号:ZL202021907530.1
申请日:20200904
发明人:贾春彦
法律状态:授权
公开号:CN213553109U
授权公告日:2021-06-29
交易方式:转让; 许可
【摘要】:
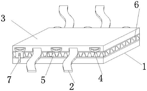
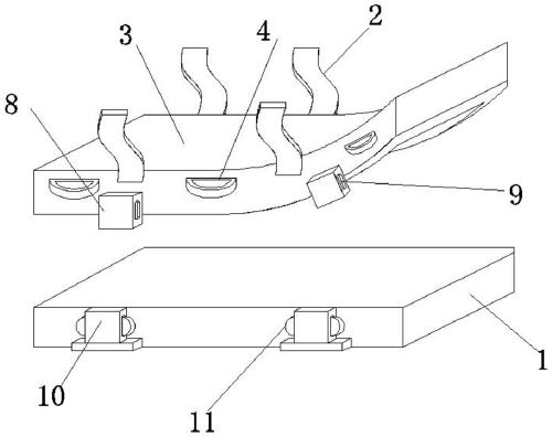
本实用新型涉及医疗用具技术领域,具体是一种新型滑布中单,包括床单,床单的上方一侧设有滑布,滑布的两侧等距离设有拉环,床单与所述滑布之间通过连接装置连接;连接装置包括设于所述床单边缘处的母链,滑布的边缘处设有子链,母链与所述子链之间通过拉链头啮合连接。当患者头部太高时而造成的下滑,解开系带,医护人员或者家属站于滑布的两侧,并且同时拉动拉环依靠滑布的作用即可实现将患者向上抬,床单与滑布之间通过连接装置相连,可以起到方便拆装的效果,降低了拆装难度,方便二者之间的分离清洗,增加了实用性和便捷性,节省医护人员腰力,提高了用户的使用体验。
【技术领域】:
本实用新型涉及医疗用具的技术领域,具体是一种新型滑布中单。
【实用新型内容】:
本实用新型提供如下技术方案:一种新型滑布中单,包括床单,所述床单的上方一侧设有滑布,所述滑布的两侧等距离设有拉环,所述床单与所述滑布之间通过连接装置连接;
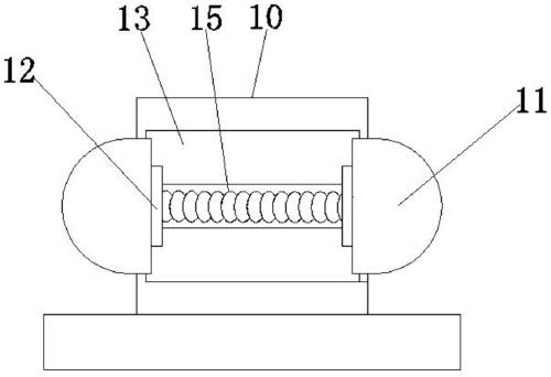
所述连接装置包括设于所述床单边缘处的母链,所述滑布的边缘处设有子链,所述母链与所述子链之间通过拉链头啮合连接。
作为本实用新型更进一步的方案:所述拉环不低于六个,且六个所述拉环与所述滑布之间通过缝制连接。
作为本实用新型更进一步的方案:所述拉环的一侧且位于所述滑布上均固定缝制设有系带。
作为本实用新型更进一步的方案:所述滑布为一种尼龙纳米丝材质的构件。
作为本实用新型更进一步的方案:所述母链与所述子链均是通过缝制分别与所述滑布和所述床单固定连接。
与现有技术相比,本实用新型的有益效果是:当患者头部太高时而造成的下滑,解开系带,医护人员或者家属站于滑布的两侧,并且同时拉动拉环依靠滑布的作用即可实现将患者向上抬,床单与滑布之间通过连接装置相连,可以起到方便拆装的效果,降低了拆装难度,方便二者之间的分离清洗,增加了实用性和便捷性,提高了用户的使用体验。而且,方便医护人员将患者抬起搬运,节省腰力,降低腰部劳损。
【附图】:




























