授权专利
【实用新型】一种下肢康复训练设备
专利号:ZL202022000327.2
申请日:20200914
法律状态:授权
公开号:CN213526247U
授权公告日:2021-06-25
交易方式:转让; 许可
【摘要】:
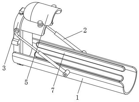
本实用新型公开了一种下肢康复训练设备,包括腿部支架、脚部支板和脚背罩盖,所述脚部支板的两端分别与腿部支架和脚背罩盖铰接;腿部支架和脚部支板之间设置有用于驱动两者之间角度转动的驱动单元;脚部支板和脚背罩盖之间设置有用于实现两者之间位置固定的连接结构,通过脚背罩盖便于实现对患者脚部在脚部支板上的位置固定,驱动单元对腿部支架和脚部支板的角度进行调节,从而便于对足部的屈曲和伸直。
【技术领域】:
本实用新型涉及医疗技术领域,具体涉及一种下肢康复训练设备。
【实用新型内容】:
本实用新型提供的一种下肢康复训练设备,包括腿部支架、脚部支板和脚背罩盖,所述脚部支板的两端分别与腿部支架和脚背罩盖铰接;
腿部支架和脚部支板之间设置有用于驱动两者之间角度转动的驱动单元;
脚部支板和脚背罩盖之间设置有用于实现两者之间位置固定的连接结构。
进一步,所述腿部支架的外形呈半圆筒体形状,所述腿部支架的内侧面设置有若干个第二气囊。
进一步,所述脚部支板靠近腿部支架的一侧设置有第一气囊,第一气囊与脚背罩盖之间彼此连接有拉绳。
进一步,所述连接结构设置有两个,两个连接结构对称分布在脚部支板和脚背罩盖之间的两侧。
进一步,所述连接结构包括固定设置在脚背罩盖上的第二连接块,所述脚部支板上固定设置有与第二连接块相对应的第一连接块,所述第一连接块和第二连接块通过紧定螺栓彼此固定连接。
进一步,所述驱动单元采用电动伸缩杆,电动伸缩杆的两端分别与腿部支架和脚部支板转动连接。
进一步,所述脚背罩盖的外形呈与脚背轮廓相一致的弧形。
与现有技术相比,本实用新型的有益效果在于:1、通过脚背罩盖便于实现对患者脚部在脚部支板上的位置固定,驱动单元对腿部支架和脚部支板的角度进行调节,从而便于对足部的屈曲和伸直;2、第二气囊可以作用于下肢肌肉群,实现对腿部的按摩,第一气囊可以实现对脚部足底和脚背的充气支撑,填满脚部在脚背罩盖与脚部支板之间的空隙,使得对脚部的位置固定。
【附图】:




























