授权专利
【实用新型】一种刷洗彻底的污物碗刷
专利号:ZL202021255088.9
申请日:20200630
发明人:张秀竹
法律状态:授权
公开号:CN212415069U
授权公告日:2021-01-29
交易方式:转让; 许可
【摘要】:
本实用新型公开了一种刷洗彻底的污物碗刷,涉及到清洗刷领域,碗刷本体包括手柄段、直刷段、斜刷段、固定段和刷毛,所述手柄段、直刷段、斜刷段、固定段依次首尾一体设置,所述手柄段、直刷段之间组成直角状,直刷段与手柄段一体式,既省时、省力又彻底清洗,一体式设计结实耐用,可挂式,刷洗无死角,直刷段轻松刷洗;所述斜刷段呈V字形结构设置在手柄段和直刷段之间,所述固定段固定设置在手柄段的表面,所述刷毛固定在直刷段、斜刷段的外部,可清洗污物碗的底部,方便清洗,使用灵活;碗刷本体可使用手持固定器方便拿持使用,便于清洗污物碗使用。
【技术领域】:
本实用新型涉及清洗刷领域,特别涉及一种刷洗彻底的污物碗刷。
【实用新型内容】:
本实用新型提供如下技术方案:一种刷洗彻底的污物碗刷,包括碗刷本体,所述碗刷本体包括手柄段、直刷段、斜刷段、固定段和刷毛,所述手柄段、直刷段、斜刷段、固定段依次首尾一体设置,所述手柄段、直刷段之间组成直角状,所述斜刷段呈V字形结构设置在手柄段和直刷段之间,所述固定段固定设置在手柄段的表面,所述刷毛固定在直刷段、斜刷段的外部。
优选的,所述直刷段和斜刷段的连接处为U字形结构。
优选的,所述固定段与手柄段走向一致,且固定段焊接固定在手柄段表面。
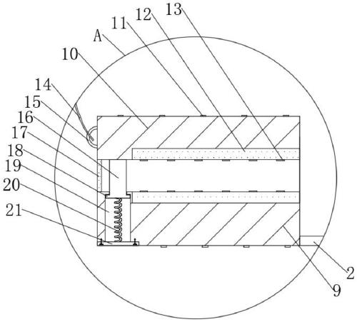
优选的,所述碗刷本体的端部设有两组手持固定器,一组手持固定器固定在碗刷本体端部,两组手持固定器通过连接件连接。
优选的,所述手持固定器包括固定设置的固定板和相对固定板可移动的活动板,所述活动板的一端设有伸缩柱,伸缩柱的端部一体设有限位板,所述固定板的一端设有伸缩槽,所述限位板活动设置在伸缩槽中。
优选的,所述活动板的端部和固定板的端部之间通过可弹性变形的橡胶连接皮固定连接。
优选的,所述固定板和活动板的内侧面均固定设有内防滑垫,所述内防滑垫的表面设有内防滑纹,所述固定板和活动板的外侧面均固定设有外防滑纹。
优选的,所述伸缩槽的开口处通过螺钉固定有封板,所述封板的表面固定设有弹簧,所述弹簧的端部固定在限位板上。
优选的,所述连接件包括弹力绳、圆环,所述圆环固定设置在活动板的端部,所述弹力绳的两端分别绑设在两组活动板端部的圆环上。
本实用新型的技术效果和优点:
1、本实用新型的一种刷洗彻底的污物碗刷,碗刷本体包括手柄段、直刷段、斜刷段、固定段和刷毛,所述手柄段、直刷段、斜刷段、固定段依次首尾一体设置,所述手柄段、直刷段之间组成直角状,直刷段与手柄段一体式,既省时、省力又彻底清洗,一体式设计结实耐用,可挂式,刷洗无死角,直刷段轻松刷洗;
2、本实用新型的一种刷洗彻底的污物碗刷,所述斜刷段呈V字形结构设置在手柄段和直刷段之间,所述固定段固定设置在手柄段的表面,所述刷毛固定在直刷段、斜刷段的外部,可清洗污物碗的底部,方便清洗,使用灵活;
3、本实用新型的一种刷洗彻底的污物碗刷,碗刷本体可使用手持固定器方便拿持使用,便于清洗污物碗使用。
【附图】:




























