授权专利
【实用新型】一种肾内科用护理装置
专利号:ZL202021975187.4
申请日:20200910
发明人:李晶晶
法律状态:授权
公开号:CN213642427U
授权公告日:2021-07-09
交易方式:转让; 许可
【摘要】:
本实用新型涉及医疗器材技术领域,且公开了一种肾内科用护理装置,包括支架板,所述支架板的内部开设有安装槽,所述安装槽的内部分别固定安装有横板、第一轴承盒与第二轴承盒,所述第一轴承盒的内部活动安装有螺纹杆,所述螺纹杆的一侧贯穿通过横板固定安装有第一斜齿轮,所述螺纹杆的外侧螺纹连接有螺纹块,所述螺纹块的底部固定安装有第一挡板,该肾内科用护理装置,通过收集箱的内部在尿液进入后,首先会通过第一过滤网并流向第二挡板的底部,而且抽气泵通过气管抽取第二挡板底部的气体,在通过第二过滤网、排气管与排气珊格排出,这样收集箱中的气体将不会影响病房中空气。
【技术领域】:
本实用新型涉及医疗器材技术领域,具体为一种肾内科用护理装置。
【实用新型内容】:
本实用新型提供了一种肾内科用护理装置,具备可以方便尿液袋的存放,以及可以保持病房内空气不受污染优点,解决了现有的病房中患者的尿液袋防止不易,还会对病房内空气造成污染的问题。
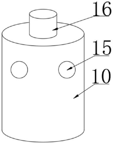
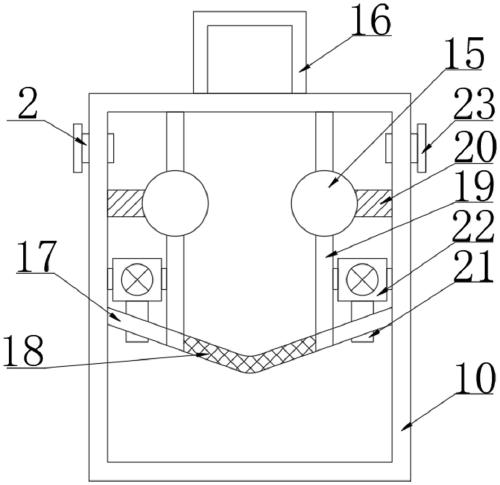
为实现上述具备可以方便尿液袋的存放,以及可以保持病房内空气不受污染目的,本实用新型提供如下技术方案:一种肾内科用护理装置,包括支架板,所述支架板的内部开设有安装槽,所述安装槽的内部分别固定安装有横板、第一轴承盒与第二轴承盒,所述第一轴承盒的内部活动安装有螺纹杆,所述螺纹杆的一侧贯穿通过横板固定安装有第一斜齿轮,所述螺纹杆的外侧螺纹连接有螺纹块,所述螺纹块的底部固定安装有第一挡板,所述支架板的底部固定安装有支撑杆,所述支撑杆的外侧活动安装有收集箱,所述第二轴承盒的内部活动安装有转动轴,所述转动轴的一端固定安装有第二斜齿轮,所述收集箱的内部开设有通孔,所述收集箱的顶部固定安装有连接块,所述收集箱的内部分别固定安装有排气管、第二挡板、两个隔板与第二过滤网,所述排气管的外侧固定安装有排气珊格,所述第二挡板的内部分别固定安装有第一过滤网与气管,所述气管的顶部固定安装有抽气泵。
优选的,所述第一斜齿轮与第二斜齿轮之间啮合连接。
优选的,所述第一挡板的右侧与收集箱活动连接。
优选的,所述支撑杆的形状呈现T字形,且支撑杆贯穿通过收集箱内部的通孔。
优选的,所述排气管贯穿通过收集箱的内壁。
优选的,所两个述隔板均位于第二挡板的顶部,所述第一过滤网位于两个隔板之间。
优选的,所述抽气泵的两个分别与收集箱的内壁与隔板固定连接,所述第二过滤网位于抽气泵的顶部。
与现有技术相比,本实用新型提供了一种肾内科用护理装置,具备以下有益效果:
1、该肾内科用护理装置,通过在使用收集箱时,首先可以将转动轴进行转动,转动轴转动时可以带动第二斜齿轮转动,而第二斜齿轮与第一斜齿轮啮合连接,且第一斜齿轮固定安装有螺纹杆的一侧,这样第二斜齿轮将会通过第一斜齿轮带动螺纹杆进行转动,而螺纹杆转动时会通过螺纹块与第一挡板带动收集箱在支撑杆上进行滑动,从而达到可以方便尿液袋的存放。
2、该肾内科用护理装置,通过收集箱的内部在尿液进入后,首先会通过第一过滤网并流向第二挡板的底部,而且抽气泵通过气管抽取第二挡板底部的气体,在通过第二过滤网、排气管与排气珊格排出,这样收集箱中的气体将不会影响病房中空气。
【附图】:





























