授权专利
【实用新型】一种护理用废物收集装置
专利号:ZL202021312639.0
申请日:20200707
发明人:王文杰
法律状态:授权
公开号:CN214268841U
授权公告日:2021-09-24
交易方式:转让; 许可
【摘要】:
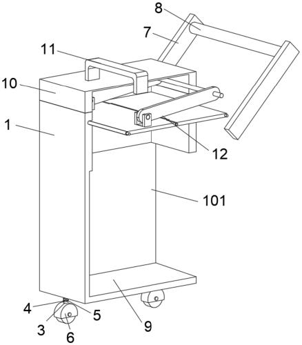
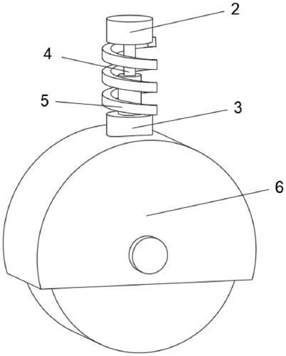
本实用新型公开了一种护理用废物收集装置,属于废物收集设备技术领域。一种护理用废物收集装置,包括箱体,箱体底面四角处固设有四个连接座A,连接座A下方设有连接座B,连接座A与连接座B之间固设有伸缩杆,伸缩杆外侧套设有减震弹簧,连接座B底面固设有刹车轮,箱体两侧对称固设有两个支柱,支柱为前低后高的倾斜结构,两个支柱后端之间固设有推杆,箱体顶面开设有废物收纳腔,箱体上方设有箱盖,箱盖顶面前侧固设有U型提手,箱盖内部设有封闭组件。本实用新型可对装置内收集的医疗废物进行双重隔绝,避免废物上的病菌扩散到外部影响到工作人员的身体健康。
【技术领域】:
本实用新型涉及废物收集设备技术领域,更具体地说,涉及一种护理用废物收集装置。
【实用新型内容】:
一种护理用废物收集装置,包括箱体,所述箱体底面四角处固设有四个连接座A,所述连接座A下方设有连接座B,所述连接座A与连接座B之间固设有伸缩杆,所述伸缩杆外侧套设有减震弹簧,所述连接座B底面固设有刹车轮,所述箱体两侧对称固设有两个支柱,所述支柱为前低后高的倾斜结构,两个所述支柱后端之间固设有推杆,所述箱体顶面开设有废物收纳腔,所述箱体相对于废物收纳腔下部的位置开设有插槽,所述插槽内插设有废物桶,所述箱体上方设有箱盖,所述箱盖顶面前侧固设有U型提手,所述箱盖内部设有封闭组件。
优选地,所述箱盖后壁通过对称设有的两个弹簧合页与箱体后壁连接固定。
优选地,所述封闭组件包括轴心,所述轴心两端分别与箱盖两侧内壁连接固定,所述轴心上呈对称结构转动连接有两个连杆,所述连杆为前低后高的倾斜结构,所述连杆前侧设有铰接座,所述铰接座为U型结构,所述铰接座内贯穿设有转轴,所述连杆前端与转轴转动连接。
优选地,所述轴心下方设有板轴A,所述板轴A两端分别与废物收纳腔左右内壁转动连接,所述板轴A前侧固设有隔板A,所述前端通过板轴B转动连接有隔板B,所述隔板B前端为半圆形结构,所述隔板B前端贯穿设有滑轴。
优选地,两个所述铰接座底面均与隔板B顶面连接固定,所述废物收纳腔前壁相对于隔板B的位置开设有凹槽,所述隔板B前端与凹槽插接配合,所述凹槽前壁固设有密封垫,所述密封垫为弧形结构,所述密封垫与隔板B前壁紧密贴合。
优选地,所述废物收纳腔两侧内壁相对于滑轴左右两端的位置开设有两个滑槽,所述滑轴左右两端分别与两个所述滑槽滑动配合。
优选地,所述废物收纳腔底面为前低后高的倾斜结构,所述废物桶为前低后高的四棱柱结构,所述废物桶底面与废物收纳腔底面滑动接触。
相比于现有技术,本实用新型的优点在于:
1.本实用新型设有封闭组件,当工作人员提动U型提手沿弹簧合页打开箱盖时,箱盖内部固设的轴心上转动连接有的两个连杆便会沿轴心转动,其前端通过铰接座铰接有的隔板B会随之受到连杆的拉力,因其受到滑轴与滑槽的限制,故前端会随滑轴向后移动,后端则沿板轴B转动并带动板轴B向上抬升,隔板A前端随着板轴B的抬升也随之抬升,因其后端板轴A与废物收纳腔内壁间的转动连接,隔板A后端便会随着板轴A发生转动而不偏移,当箱盖完全打开时,隔板B被连杆拉动向后逐渐倾斜,进而形成垃圾滑落通道,有利于废物的回收,此时向箱内投入医疗废物,投入完毕后关闭箱盖,封闭组件会再次封闭住废物收纳腔的上端,以此对其内的医疗废物进行双重隔绝,避免废物上的病菌扩散到外部影响到工作人员的身体健康。
2.本实用新型箱体后侧开设有插槽,且插槽内插设有废物桶,经由箱体顶面投入废物收纳腔的医疗废物会直接落入废物桶内,待废物收集工作完成后,工作人员可直接由后侧抽出废物桶便可对装置内收集到的废物进行统一的倾倒和处理,方便快捷,避免了医疗废物与开口处的接触,加大了装置对医疗废物的隔离,提高了装置的实用性。
3.本实用新型废物收纳腔前壁在相对隔板B前端的位置开设有凹槽,凹槽前壁固设有与隔板B紧密贴合的密封垫,通过关闭箱盖后隔板B前端与密封垫二者间的挤压,更加加大了对废物收纳腔内医疗废物的隔绝。
4.本实用新型箱体与刹车轮之间通过连接座A与连接座B固定有减震弹簧和伸缩杆,通过伸缩杆可对减震弹簧产生导向作用,而减震弹簧可在装置的移动过程中减小装置与地面摩擦产生的震动,可有效降低装置移动时产生的噪音,保证了接受护理的患者休息环境的静谧性。
【附图】:
































