授权专利
【实用新型】一种功能性阴囊枕
专利号:ZL202022762824.6
申请日:20201125
发明人:李洋
法律状态:授权
公开号:CN214632839U
授权公告日:2021-11-09
交易方式:转让; 许可
【摘要】:
本实用新型公开了一种功能性阴囊枕,功能性阴囊枕呈竖直状结构,且功能性阴囊枕包括:枕块,枕块的上端为用于接触人体阴囊的软性枕部,软性枕部的中部呈向下凹陷状;底块,底块用于支撑枕块并位于枕块的正下方;可伸缩的调节件,调节件设置于枕块、底块之间,且底块通过调节件支撑所述枕块,调节件伸长后枕块、底块之间形成远离,调节件缩短后枕块、底块之间形成靠近;利用气压原理,在第一直杆、第二直杆之间伸长或缩短后,将封堵帽拧紧以使空槽形成气压密封,在空槽内具有气压的情况下,枕块、底块之间不会缩短或伸长,从而使调节件保持住自身的长度。
【技术领域】:
本实用新型涉及医疗用具领域,特别涉及一种功能性阴囊枕。
【实用新型内容】:
一种功能性阴囊枕,功能性阴囊枕呈竖直状结构,且功能性阴囊枕包括:
枕块,枕块的上端为用于接触人体阴囊的软性枕部,软性枕部的中部呈向下凹陷状;底块,底块用于支撑枕块并位于枕块的正下方;可伸缩的调节件,调节件设置于枕块、底块之间,且底块通过调节件支撑所述枕块,调节件伸长后枕块、底块之间形成远离,调节件缩短后枕块、底块之间形成靠近;
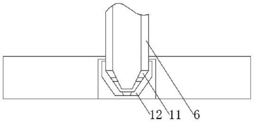
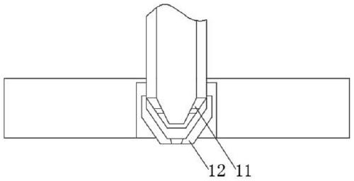
所述调节件包括:装配为一体的第一直杆和第二直杆、以及套设在第一直杆和第二直杆外侧的压缩弹簧,第一直杆固定连接于枕块的下端中部,第二直杆固定连接于底块的上端中部,且第二直杆为中空状其内具有上下贯通的空槽,所述第一直杆的自上而下地插入空槽内,且第一直杆可在空槽内上下滑动。
作为上述方案的优化,所述软性枕部的上端覆盖有一层医用纱布,且医用纱布和软性枕部的上端之间通过间隙隔开。
作为上述方案的优化,自然状态下,所述压缩弹簧为扩张状态,压缩弹簧的上下两端并分别向枕块下端、底块上端施加作用力。
作为上述方案的优化,所述底块为硬质材料,且底块的质量、厚度均大于枕块。
作为上述方案的优化,所述底块的下端中部对应第二直杆设有凹槽,所述凹槽的开口朝向下方,且第二直杆的下端伸至凹槽内,第二直杆的下端固定连接有输出嘴,所述输出嘴呈锥形状,且输出嘴的两侧开设有通入空槽的第一气孔。
作为上述方案的优化,所述凹槽内设有能够封堵输出嘴的封堵帽,封堵帽也呈锥形状,且封堵帽通过螺纹配合连接在输出嘴的外侧,封堵帽的中部开设有第二气孔。
本实用新型的技术效果和优点:
1.本实用新型的一种功能性阴囊枕,底块用于支撑枕块并位于枕块的正下方;可伸缩的调节件,调节件设置于枕块、底块之间,且底块通过调节件支撑所述枕块,调节件伸长后枕块、底块之间形成远离,调节件缩短后枕块、底块之间形成靠近,从而实现本实用新型高度的调整;
2.本实用新型的一种功能性阴囊枕,利用气压原理,在第一直杆、第二直杆之间伸长或缩短后,将封堵帽拧紧以使空槽形成气压密封,在空槽内具有气压的情况下,枕块、底块之间不会缩短或伸长,从而使调节件保持住自身的长度。
【附图】:






























