授权专利
【实用新型】一种儿童吸痰管
专利号:ZL202022088336.1
申请日:20200922
发明人:石蕊
法律状态:授权
公开号:CN213698196U
授权公告日:2021-07-16
交易方式:转让; 许可
【摘要】:
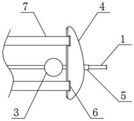
本实用新型涉及吸痰管技术领域,具体是一种儿童吸痰管,包括导管,导管的表面位于中段位置处固定有球体,且导管的外部位于管头和球体之间设置有固定罩,导管与固定罩之间通过连接管固定相连,固定罩的表面位于一侧位置处设置有第一固定带,且固定罩的表面位于另一侧位置处设置有第二固定带,固定罩的表面对应第一固定带和第二固定带的位置处均开设有连接孔。本实用新型专为儿童患者设计,考虑到在吸痰过程中,儿童患者可能会因为不适而咬住导管,使吸痰进行困难,故在导管的表面设置了球体,可有效地防止导管受阻和破裂;另外,利用第一固定带和第二固定带可将固定罩与患者的面部固定,避免导管从患者口中脱落。
【技术领域】:
本实用新型涉及吸痰管技术领域,具体是一种儿童吸痰管。
【实用新型内容】:
本实用新型提供如下技术方案:一种儿童吸痰管,包括导管,所述导管的表面位于中段位置处固定有球体,且导管的外部位于管头和球体之间设置有固定罩,所述导管与固定罩之间通过连接管固定相连,所述固定罩的表面位于一侧位置处设置有第一固定带,且固定罩的表面位于另一侧位置处设置有第二固定带,所述固定罩的表面对应第一固定带和第二固定带的位置处均开设有连接孔,所述第一固定带的一侧位于下端位置处固定有魔术贴母贴,所述第二固定带的一侧位于下端位置处固定有魔术贴子贴。
作为本实用新型更进一步的方案,所述球体为一种硅胶材质的构件,且球体与导管通过胶粘连接。
作为本实用新型更进一步的方案,所述固定罩为一种PC材质的构件,且固定罩呈水滴状结构。
作为本实用新型更进一步的方案,所述固定罩的内侧位于底端位置处设置有柔性垫,所述柔性垫为一种硅胶材质的构件。
作为本实用新型更进一步的方案,所述导管的一端固定有管头,所述管头的一端与负压吸引器相连。
作为本实用新型更进一步的方案,所述第一固定带和第二固定带均为一种尼龙材质的构件,且第一固定带和第二固定带的总长度不低于58cm。
与现有技术相比,本实用新型的有益效果是:本实用新型专为儿童患者设计,考虑到在吸痰过程中,儿童患者可能会因为不适而咬住导管,使吸痰进行困难,故在导管的表面设置了球体,可有效地防止导管受阻和破裂;另外,利用第一固定带和第二固定带可将固定罩与患者的面部固定,避免导管从患者口中脱落,更加方便医护人员操作。
【附图】:




























