授权专利
【实用新型】一种儿童防抓手套
专利号:ZL202022073626.9
申请日:20200921
发明人:李海静
法律状态:授权
公开号:CN213404991U
授权公告日:2021-06-11
交易方式:转让; 许可
【摘要】:
本实用新型涉及手套技术领域,具体是一种儿童防抓手套,包括手套体,手套体的插口端固定连接有臂套,且手套体和臂套的侧壁均开设有透气孔,手套体的手背侧连通设有通风管,且通风管中设有通风机构,臂套的外侧固定连接有USB充电池组,且USB充电池组的一侧固定连接有控制开关,通风机构的一端通过导线与控制开关电性连接。本实用新型中,通过采用透明硅胶材质,便于直接观察孩子的手部情况,使用更方便,节省人力,纳米液涂层使本装置耐扎、防污效果更好,设置通风机构带动扇叶轮旋转产生风力,将外界空气吸入手套体中,由透气孔排出,提高本装置对通风散热效果,从而提高儿童佩戴舒适度和吸引力。
【技术领域】:
本实用新型涉及手套技术领域,具体是一种儿童防抓手套。
【实用新型内容】:
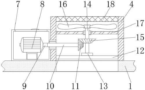
本实用新型提供如下技术方案:一种儿童防抓手套,包括手套体,所述手套体的插口端固定连接有臂套,且手套体和臂套的侧壁均开设有透气孔,所述手套体的手背侧连通设有通风管,且通风管中设有通风机构,所述臂套的外侧固定连接有USB充电池组,且USB充电池组的一侧固定连接有控制开关,所述通风机构的一端通过导线与控制开关电性连接;
所述通风机构包括固定在通风管一侧的机壳,所述机壳的内壁固定连接有伺服电机,且伺服电机的驱动端转动连接有横向设置的转轴,所述转轴远离伺服电机的一端固定连接有第一转杆,且第一转杆远离转轴的一端贯穿延伸至通风管中并固定连接有主动锥齿轮,所述通风管的内壁固定连接有横向设置的安装杆,且安装杆的上侧中心处通过转动件转动连接有竖直设置的第二转杆,所述第二转杆上套设并固定连接有从动锥齿轮,所述第二转杆远离转动件的一端固定连接有扇叶轮。
作为本实用新型再进一步的方案:所述手套体和臂套均采用透明硅胶材质构件,且手套体和臂套的外表面均涂覆有纳米液涂层。
作为本实用新型再进一步的方案:所述通风管的一侧开设有与机壳连通设置的第一通孔,且第一转杆贯穿第一通孔设置,所述第一通孔的内壁与第一转杆的外侧壁转动连接。
作为本实用新型再进一步的方案:所述通风管的内壁固定连接有横向设置的支撑杆,且支撑杆的侧壁开设有第二通孔,所述第二转杆贯穿第二通孔设置,所述第二通孔的内壁通过轴承件与第二转杆的内壁转动连接。
作为本实用新型再进一步的方案:所述通风管远离手套体的一端开口处内壁固定连接有钢丝滤网。
作为本实用新型再进一步的方案:所述臂套远离手套体的一端固定连接有束紧带,且束紧带采用弹性纤维材质编织而成。
作为本实用新型再进一步的方案:所述手套体的五指部内侧均固定连接有耐磨垫,且耐磨垫采用橡胶材质构件。
与现有技术相比,本实用新型的有益效果是:
通过设置透气孔提高本装置的透气性,采用透明硅胶材质,便于直接观察孩子的手部情况,使用更方便,节省人力,纳米液涂层使本装置耐扎、防污效果更好。
通过设置通风机构,启动伺服电机,带动转轴转动,带动与第一转杆固定的主动锥齿轮转动,进而带动第二转杆转动,实现扇叶轮的旋转,扇叶轮旋转产生风力,将外界空气吸入手套体中,由透气孔排出,提高本装置对通风散热效果,从而提高儿童佩戴舒适度和吸引力。
【附图】:




























