授权专利
【实用新型】一种带有松紧调节功能的新生儿眼罩
专利号:ZL202022073614.6
申请日:20200921
发明人:王辉
法律状态:授权
公开号:CN213525877U
授权公告日:2021-06-25
交易方式:转让; 许可
【摘要】:
本实用新型涉及医疗器械技术领域,具体是一种带有松紧调节功能的新生儿眼罩,包括头罩,头罩头罩的前表面对称设有眼罩主体,两个眼罩主体的中部位置处活动安装有贯穿固定布条的头部紧缩绳,头罩的下端两侧还缝合有颌下紧缩绳,颌下紧缩绳与头部紧缩绳上还活动安装有固定件。本实用新型结构简单、设计新颖,通过眼罩主体和头部紧缩绳可以有效的调节两个眼罩主体之间的距离,通过头部紧缩绳、颌下紧缩绳以及固定件可以调节头部紧缩绳、颌下紧缩绳的有效长度,从而使得本设备更加牢固的贴合在新生儿头部,避免其滑落,且由于头部紧缩绳、颌下紧缩绳为棉质构件,且内部无弹性纤维,不会造成血流不畅的情况发生。
【技术领域】:
本实用新型涉及医疗器械技术领域,具体是一种带有松紧调节功能的新生儿眼罩。
【实用新型内容】:
本实用新型提供如下技术方案:一种带有松紧调节功能的新生儿眼罩,包括头罩,所述头罩的表面等间距均匀缝合有固定布条,且头罩的前表面还对称设有眼罩主体,两个所述眼罩主体的中部位置处活动安装有贯穿固定布条的头部紧缩绳,所述头罩的下端两侧还缝合有颌下紧缩绳,所述颌下紧缩绳与头部紧缩绳上还活动安装有固定件;
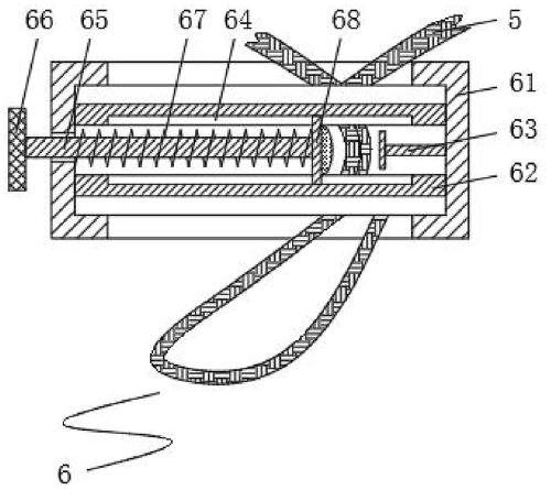
所述固定件包括与颌下紧缩绳活动相连的壳体,所述壳体内部对称安装有挡杆,两个所述挡杆之间位于壳体的内壁上安装有限位架,且两个挡杆的对应面对称开设有滑槽,两个所述挡杆之间滑动安装有滑板,所述滑板的中部位置处固定安装有活动杆,所述活动杆的一端延伸至壳体的外端并安装有旋钮。
作为本实用新型再进一步的方案:所述活动杆上位于壳体与滑板之间固定套设有弹簧,所述滑板的一侧还安装有与限位架适配的橡胶垫。
作为本实用新型再进一步的方案:所述眼罩主体包括与头部紧缩绳活动连接的活动层,所述活动层的内部开设有与头部紧缩绳适配的开口,且活动层的内外两侧分别设置有护垫与遮光层。
作为本实用新型再进一步的方案:所述头罩的两侧对称开设有耳孔,且头罩的下端位于两个眼罩主体之间固定安装有鼻托,所述鼻托为一种硅胶材质的构件。
作为本实用新型再进一步的方案:所述头部紧缩绳与颌下紧缩绳均为一种棉质构件,所述头罩的内部填充有弹性纤维。
作为本实用新型再进一步的方案:所述旋钮的外部套设有防滑套,且防滑套的表面设有防滑纹。
与现有技术相比,本实用新型的有益效果是:本实用新型结构简单、设计新颖,通过头罩戴在新生儿头部,通过眼罩主体和头部紧缩绳可以有效的调节两个眼罩主体之间的距离,从而适应不同瞳距的新生儿,提高适用范围,此外通过头部紧缩绳、颌下紧缩绳以及固定件可以调节头部紧缩绳、颌下紧缩绳的有效长度,从而更加牢固的贴合在新生儿头部,避免其滑落,且由于头部紧缩绳、颌下紧缩绳为棉质构件,且内部无弹性纤维,可以有效地防止其造成新生儿勒痕,不会造成血流不畅的情况发生,有利于新生儿治疗。
【附图】:





























