授权专利
【实用新型】一种穿刺用皮肤固定器
专利号:ZL202022165263.1
申请日:20200928
发明人:张建鹏; 刘洋; 李卫强
法律状态:授权
公开号:CN213552200U
授权公告日:2021-06-29
交易方式:转让; 许可
【摘要】:
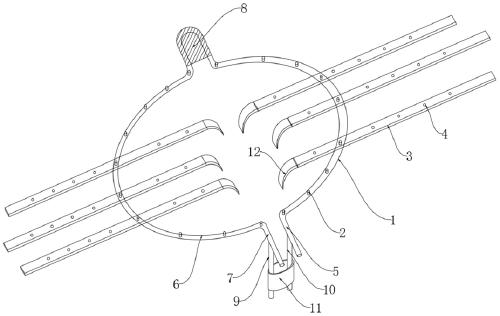
本实用新型涉及一种穿刺用皮肤固定器,包括第一支撑架(1)、第二支撑架(6)和连接件(8),第一支撑架(1)一端通过连接件(8)与第二支撑架(6)另一端连接,还包括拉杆组件,拉杆组件分别与第一支撑架(1)和第二支撑架(6)通过连接部连接,以实现拉杆组件可在第一支撑架(1)和第二支撑架(6)上调整不同的位置。本实用新型可使穿刺局部皮肤紧绷,紧贴于胸壁,进针操作时不会造成皮肤标记点与胸壁欲进针处相对位移,造成误差,紧绷皮肤可使进针深度更加精准。
【技术领域】:
本实用新型涉及医疗器械技术领域,尤其涉及一种穿刺用皮肤固定器。
【实用新型内容】:
本实用新型实施例公开了一种穿刺用皮肤固定器,包括第一支撑架、第二支撑架和连接件,所述第一支撑架一端通过所述连接件与所述第二支撑架另一端连接,还包括拉杆组件,所述拉杆组件分别与所述第一支撑架和所述第二支撑架通过连接部连接,以实现所述拉杆组件可在所述第一支撑架和所述第二支撑架上调整不同的位置。
在上述任一方案中优选的是,所述拉杆组件包括拉杆本体,所述拉杆本体一端具有抓手,以实现所述抓手用于将皮肤拉取固定。
在上述任一方案中优选的是,所述拉杆本体与所述抓手一体成型。
在上述任一方案中优选的是,所述拉杆本体具有多个。
在上述任一方案中优选的是,所述连接部为螺钉,所述螺钉穿过所述拉杆本体和所述第一支撑架或所述第二支撑架,实现固定所述拉杆本体。
在上述任一方案中优选的是,所述连接部包括凸起和通孔,所述凸起设置于所述第一支撑架和所述第二支撑架上,所述通孔设置于所述拉杆本体上,以实现所述第一支撑架或所述第二支撑架上的所述凸起插入至所述拉杆本体上的所述通孔内。
在上述任一方案中优选的是,所述凸起设置有多个。
在上述任一方案中优选的是,所述通孔设置有多个。
在上述任一方案中优选的是,所述凸起与所述第一支撑架一体成型或可拆卸连接。
在上述任一方案中优选的是,所述拉杆本体与所述通孔一体成型。
在上述任一方案中优选的是,所述第一支撑架和所述第二支撑架分别为圆弧形。
在上述任一方案中优选的是,穿刺用皮肤固定器,还包括第一折弯杆和第二折弯杆,所述第一折弯杆一端与所述第一支撑架一端连接,所述第二折弯杆与所述第二支撑架一端连接。
在上述任一方案中优选的是,穿刺用皮肤固定器,还包括第二限位杆和第一限位杆,所述第二限位杆和所述第一限位杆一端分别与所述第二折弯杆和所述第一折弯杆端部连接,以实现所述固定件套设于所述第二限位杆和所述第一限位杆外部。
在上述任一方案中优选的是,所述固定件为弹性件。
在上述任一方案中优选的是,所述弹性件为皮筋。
在上述任一方案中优选的是,所述连接件为铰链,所述第一支撑架一端通过铰链与所述第二支撑架另一端连接。
与现有技术相比,本实用新型实施例穿刺用皮肤固定器,所述第一支撑架一端通过所述连接件与所述第二支撑架另一端连接,可以方便组合,还包括拉杆组件,所述拉杆组件分别与所述第一支撑架和所述第二支撑架通过连接部连接,以实现所述拉杆组件可在所述第一支撑架和所述第二支撑架上调整不同的位置,方便调节和使用,可以根据病人的具体情况调节长度。
所述拉杆组件包括拉杆本体,所述拉杆本体一端具有抓手,以实现所述抓手用于将皮肤拉取固定,方便使用,所述拉杆本体与所述抓手一体成型,结构坚固,更加耐用,所述拉杆本体具有多个,所述连接部为螺钉,所述螺钉穿过所述拉杆本体和所述第一支撑架或所述第二支撑架,实现固定所述拉杆本体,可以方便拆卸和组合。
所述连接部包括凸起和通孔,所述凸起设置于所述第一支撑架和所述第二支撑架上,所述通孔设置于所述拉杆本体上,以实现所述第一支撑架或所述第二支撑架上的所述凸起插入至所述拉杆本体上的所述通孔内,可以方便拆卸和组合,所述凸起与所述第一支撑架一体成型,结构坚固或可拆卸连接,可以方便拆卸和组装。
可使穿刺局部皮肤紧绷,紧贴于胸壁,进针操作时不会造成皮肤标记点与胸壁欲进针处相对位移,造成误差,紧绷皮肤可使进针深度更加精准。
【附图】:


























