授权专利
【实用新型】一种便于组合式跛行距离评估电子环
专利号:ZL202022165244.9
申请日:20200928
发明人:杜亚丽; 闫昌葆; 吴伟伟; 贾秋平
法律状态:授权
公开号:CN213551753U
授权公告日:2021-06-29
交易方式:转让; 许可
【摘要】:
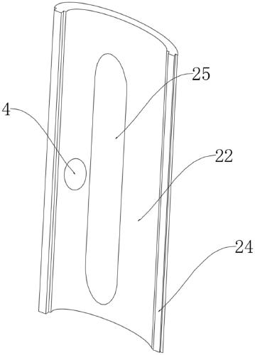
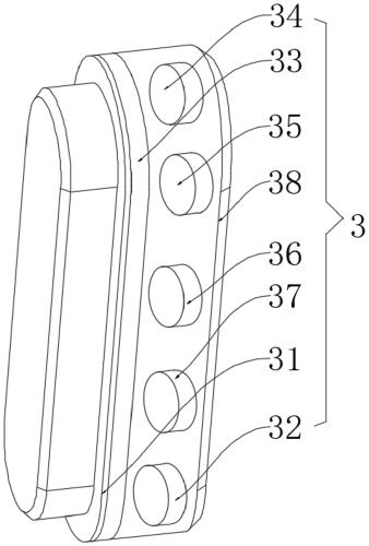
本实用新型涉及一种便于组合式跛行距离评估电子环,包括感应组件(3)、装饰组件(2)、腕带组件(1)和电池(4),腕带组件(1)端部分别与装饰组件(2)两侧连接,装饰组件(2)上设置有感应组件(3),装饰组件(2)包括第一外包胶(21)、第二外包胶(22)和安装槽(25),第一外包胶(21)与第二外包胶(23)可拆卸连接,且第一外包胶(21)和第二外包胶(23)上设置有安装槽(25),感应组件(3)设置于安装槽(25)上,电池(4)设置于第一外包胶(21)和第二外包胶(23)之间。本实用新型可以戴在患者足踝部或者手腕部,帮助患者记录跛行距离,减少医护人员工作量,还可以方便拆卸和组装。
【技术领域】:
本实用新型涉及医疗器械技术领域,尤其涉及一种便于组合式跛行距离评估电子环。
【实用新型内容】:
本实用新型提供一种便于组合式跛行距离评估电子环,不但可以戴在患者足踝部或者手腕部,帮助患者记录跛行距离,减少医护人员工作量,而且还可以方便拆卸和组装,极大地提高了生产加工效率,可以有效解决背景技术中的问题。
为了解决上述技术问题,本实用新型提供的便于组合式跛行距离评估电子环的技术方案具体如下:
本实用新型实施例公开了一种便于组合式跛行距离评估电子环,包括感应组件、装饰组件、腕带组件和电池,所述腕带组件端部分别与所述装饰组件两侧连接,所述装饰组件上设置有所述感应组件,所述装饰组件包括第一外包胶、第二外包胶和安装槽,所述第一外包胶与所述第二外包胶可拆卸连接,且所述第一外包胶和所述第二外包胶上设置有安装槽,所述感应组件设置于所述安装槽上,所述电池设置于所述第一外包胶和所述第二外包胶之间,所述电池与所述感应组件连接。
在上述任一方案中优选的是,所述装饰组件还包括凹槽和凸块,所述凹槽设置于所述第一外包胶两侧,所述凸块设置于所述第二外包胶两侧,以实现所述第二外包胶两侧的所述凸块插入至所述第一外包胶两侧的所述凹槽内。
在上述任一方案中优选的是,所述凹槽与所述第一外包胶一体成型,所述凸块与所述第二外包胶一体成型。
在上述任一方案中优选的是,所述感应组件包括外壳体、电路板、显示器和处理器,所述电路板设置于所述外壳体内,所述显示器设置于所述外壳体上,所述显示器与所述电路板电性连接,所述处理器与所述电路板电性连接。
在上述任一方案中优选的是,所述感应组件还包括计步器,所述计步器集成于所述电路板上。
在上述任一方案中优选的是,所述感应组件还包括心率传感器和血压传感器,所述心率传感器和所述血压传感器集成于所述电路板上。
在上述任一方案中优选的是,所述感应组件还包括GPS定位器,所述GPS定位器集成于所述电路板上。
在上述任一方案中优选的是,所述腕带组件包括第一腕带和第二腕带,所述第一腕带和所述第二腕带的端部均与所述第一外包胶和所述第二外包胶的两侧连接。
在上述任一方案中优选的是,所述腕带组件包括固定环,所述固定环设置于所述第二腕带上,以实现所述固定环将所述第一腕带和所述第二腕带连接。
在上述任一方案中优选的是,所述第一外包胶与所述第二外包胶的连接处通过防水胶密封。
在上述任一方案中优选的是,所述第一腕带和所述第二腕带的端部与所述第一外包胶和所述第二外包胶的连接处通过防水胶密封。
在上述任一方案中优选的是,所述电池为聚合物锂电池。
在上述任一方案中优选的是,所述第一腕带和所述第二腕带均通过橡胶材料和金属材料制成。
在上述任一方案中优选的是,所述第一腕带和所述第二腕带宽度为16mm,长度为17~23mm。
在上述任一方案中优选的是,所述显示器为触摸显示器。
在上述任一方案中优选的是,所述第一腕带和所述第二腕带的端部均与所述第一外包胶和所述第二外包胶的两侧可拆卸连接。
在上述任一方案中优选的是,所述第一腕带和所述第二腕带的端部均与所述第一外包胶和所述第二外包胶的两侧通过螺钉连接。
与现有技术相比,本实用新型实施例便于组合式跛行距离评估电子环,第一外包胶与第二外包胶可拆卸连接,可以方便拆卸和组装,方便维修,极大地提高了工作效率,第一外包胶和第二外包胶上设置有安装槽,感应组件设置于安装槽上,可以方便拆卸和组合,当将此设备佩戴在患者手腕部时,可以通过感应组件检测患者的心率以及血压,方便患者实时掌握自己的状况,并且可以检测,便于使用,还可以帮助患者记录跛行距离,减少医护人员工作量,电池设置于第一外包胶和第二外包胶之间,可以方便更换和维修,电池与感应组件连接,可以为电路元件提供电量,保证电路的正常运行。
【附图】:































