授权专利
【实用新型】一次性男性尿袋
专利号:ZL202022909646.5
申请日:20201203
发明人:侯宝蕾; 高丽
法律状态:授权
公开号:CN214104827U
授权公告日:2021-09-03
交易方式:转让; 许可
【摘要】:
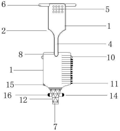
本实用新型公开了一次性男性尿袋,包括袋体和与袋体相连通的接尿装置,所述接尿装置包括套体和与所述套体相连通的管体,所述套体中上部设置有透气孔,所述套体的材质为聚氨酯或天然橡胶,所述套体的内表面涂设有润滑剂,所述套体的外表面左右两侧设置有胶贴,所述袋体的底部设置有排尿口。不仅能够防止尿路感染发生,从而增加男性病人的舒适度,而且提升医护人员的工作效率,同时降低时间成本以及使用成本;通过含有润滑剂的套体不仅有利于更换体位时卡接和固定男性病人的阴茎,而且便于穿脱;通过胶贴不仅能够便于调节套体的宽度,避免将排出的尿液出现遗洒现象,而且可以方便、快捷地固定套体,有效避免套体脱落。
【技术领域】:
本实用新型涉及医疗器械技术领域,更具体地,涉及一次性男性尿袋。
【实用新型内容】:
一种一次性男性尿袋,包括袋体和与袋体相连通的接尿装置,所述接尿装置包括套体和与所述套体相连通的管体,所述套体中上部设置有透气孔,所述套体的材质为聚氨酯或天然橡胶,所述套体的内表面涂设有润滑剂,所述套体的外表面左右两侧设置有胶贴,所述袋体的底部设置有排尿口。
优选的,所述袋体与接尿装置以及套体与管体一体成型。
优选的,所述袋体上设置有密封条,所述密封条靠近排尿口远离管体。
优选的,所述袋体上设置有可折叠区,所述可折叠区靠近排尿口远离管体。
优选的,所述可折叠区处设置有第一固定件,所述第一固定件正面设置有魔术贴毛面,所述可折叠区背侧面设置有与魔术贴毛面相配合的魔术贴勾面,所述魔术贴毛面与魔术贴勾面相连接。
优选的,所述袋体上设置有抗返流装置,所述抗返流装置位于所述袋体与所述接尿装置相连通处。
优选的,所述袋体上设置有挂件,所述挂件位于所述袋体的外表面。
优选的,所述袋体外表面印有第一刻度线。
优选的,所述袋体上设置有第二刻度线,所述第二刻度线靠近排尿口远离接尿装置。
与现有技术相比,本实用新型提供的一次性男性尿袋,至少实现了如下的有益效果:
通过接尿装置不仅能够防止尿路感染发生,从而增加男性病人的舒适度,而且提升医护人员的工作效率,同时降低时间成本以及使用成本;通过含有润滑剂的套体不仅有利于更换体位时卡接和固定男性病人的阴茎,而且便于穿脱;并且,通过胶贴不仅能够便于调节套体的宽度,避免将排出的尿液出现遗洒现象,而且可以方便、快捷地固定套体,有效避免套体脱落;通过密封条保证袋体的密封性;通过可折叠区不仅能够避免尿液连续从排尿口排出,而且可以记录患者每天排尿量,通过每天尿量了解身体状况,进而有利于临床诊断。
当然,实施本实用新型的任一产品必不特定需要同时达到以上所述的所有技术效果。
【附图】:



























