授权专利
【实用新型】尿便标本固定装置
专利号:ZL202022897056.5
申请日:20201204
发明人:赵宇宁
法律状态:授权
公开号:CN213943225U
授权公告日:2021-08-13
交易方式:转让; 许可
【摘要】:
本申请公开了一种尿便标本固定装置,包括底板和多个侧壁,侧壁包括沿第一方向延伸的第一侧壁和沿第二方向延伸的第二侧壁,侧壁还包括多个第一限位槽和第二限位槽,第二限位槽包括沿第一方向延伸的第一子限位槽和沿第二方向延伸的第二子限位槽,还包括限位层,限位层包括沿第一方向延伸的第三限位槽和沿第二方向延伸的第四限位槽,还包括支撑板,支撑板与第三限位槽和第四限位槽固定连接;还包括多个限位元件,限位元件的延伸方向与底板垂直,限位元件与相邻第一限位槽、第二限位槽、第三限位槽以及第四限位槽其中至少两个卡合,形成第二容纳空间。本实用新型公开的尿便标本固定装置可以稳固大小便标本,使大小便标本不易倾洒。
【技术领域】:
本实用新型属于医疗用品技术领域,本实用新型为尿便标本固定装置。
【实用新型内容】:
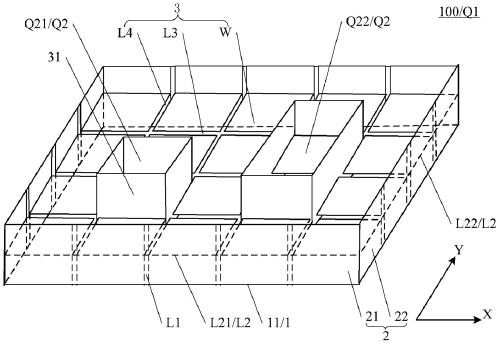
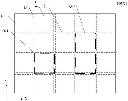
一种尿便标本固定装置,包括底板和多个侧壁,所述底板和所述侧壁垂直相交;所述底板包括多个顺次连接的侧边,所述侧壁的一端与所述侧边固定连接,所述侧壁与所述底板形成第一容纳空间;所述侧壁包括沿第一方向延伸的第一侧壁和沿第二方向延伸的第二侧壁,所述侧壁还包括多个第一限位槽和第二限位槽,所述第一限位槽的延伸方向与所述底板相交,所述第二限位槽的延伸方向与所述底板平行,所述第二限位槽包括沿第一方向延伸的第一子限位槽和沿第二方向延伸的第二子限位槽,所述第一子限位槽位于所述第一侧壁,所述第二子限位槽位于所述第二侧壁,其中,所述第一方向与所述第二方向相交;所述尿便标本固定装置还包括限位层,所述限位层包括沿所述第一方向延伸的第三限位槽和沿所述第二方向延伸的第四限位槽,沿所述第一方向上,最临近所述第一侧壁的所述第三限位槽复用为所述第一子限位槽,沿所述第二方向上,最临近所述第二侧壁的所述第四限位槽复用为所述第二子限位槽;所述尿便标本固定装置还包括多个限位元件,所述限位元件的延伸方向与所述底板垂直,所述限位元件与相邻的所述第一限位槽、所述第二限位槽、所述第三限位槽以及所述第四限位槽其中至少两个卡合,形成第二容纳空间。
优选的,所述底板包括沿第一方向延伸的第五限位槽和沿所述第二方向延伸的第六限位槽,所述第五限位槽与所述第三限位槽相对设置,所述第六限位槽与所述第四限位槽相对设置。
优选的,所述限位元件至少包括两个面积不同的所述限位元件。
优选的,所述限位元件为卡片或者卡盒。
优选的,所述限位元件远离所述底板的一侧包括辅助夹层。
优选的,所述侧壁和所述底板的材质为透明材质。
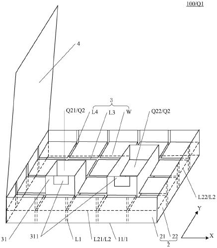
优选的,还包括盖板,所述盖板与所述底板相对设置,且所述盖板与任意一个所述侧壁远离所述底板的一侧固定连接。
优选的,所述盖板的材质为透明材质。
与现有实用新型相比,本实用新型提供的尿便标本固定装置,有如下有益效果:
1、本实用新型公开的尿便标本固定装置,通过设置限位层,限位层中沿第一方向延伸的第三限位槽和沿所述第二方向延伸的第四限位槽,以及在侧壁设置与第三限位槽和第四限位槽相对设置的第一限位槽和第二限位槽,结合使用限位元件可以形成第二容纳空间,其中,限位元件可以根据塑料尿杯和大便标本采集盒的大小与述第二限位槽、所述第三限位槽以及所述第四限位槽其中至少两个卡合,形成第二容纳空间。进而使得第二容纳空间可以与塑料尿杯和大便标本采集盒大小匹配,可以稳固大小便标本,使大小便标本不易倾洒。
2、本实用新型提供的尿便标本固定装置中的限位元件,远离所述底板的一侧包括辅助夹层,辅助夹层中可以放置记录该标本的条件纸条或者便签,使得标本容易辨认与核对,同时由于记录该标本的条件纸条或者便签防止在辅助夹层中,可以防止外界环境污染,进一步使得标本容易辨认与核对。
3、本实用新型提供的尿便标本固定装置,底板、侧壁以及盖板均采用透明材质,以及限位层和辅助夹层也均采用透明材质,可以满足临床大小便标本收集、核对、送检方便的要求。
【附图】:






























