授权专利
【实用新型】临床分药盒
专利号:ZL202022770433.9
申请日:20201126
发明人:杨阳
法律状态:授权
公开号:CN213697712U
授权公告日:2021-07-16
交易方式:转让; 许可
【摘要】:
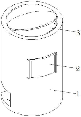
本申请公开了一种临床分药盒,包括:存放筒,存放筒竖直放置,存放筒外弧形侧面竖直设置有标牌,标牌与存放筒插接连接,存放筒内部水平设置有分药盒,多个分药盒在存放筒内叠放放置,分药盒与存放筒滑动连接,分药盒包括储存箱,储存箱水平放置,储存箱与存放筒滑动连接,储存箱上方水平设置有盖板。通过存放筒的设置便于为分药盒的放置提供空间,进而将同一病房内用药统一放置,便于一次分发完毕,通过分药盒的设置便于将同一病房内不同床位用药独立储存,进而实现准确快速的分发药品,通过扫描病人的腕带决定是否发放药品,提高药品发放的准确性,在使用方便的同时可准确无误的对同一病房内的病患分发药品,防止因人为发放导致错发药品。
【技术领域】:
本实用新型涉及医疗辅助器械相关技术领域,更具体地,涉及一种临床分药盒。
【实用新型内容】:
本实用新型提供了一种临床分药盒,包括:存放筒,所述存放筒竖直放置,所述存放筒的外弧形侧面竖直设置有标牌,所述标牌与存放筒插接连接,所述存放筒的内部水平设置有分药盒,多个所述分药盒在存放筒内叠放放置,所述分药盒与存放筒滑动连接,所述分药盒包括储存箱,所述储存箱水平放置,所述储存箱与存放筒滑动连接,所述储存箱的上方水平设置有盖板。
所述存放筒的外弧形侧面的下端开设有通孔,所述存放筒的外弧形侧面正对标牌的位置处对称竖直固定连接有插接板。
所述存放筒的内弧形侧面在水平直径的两端竖直开设有第一滑动槽,所述第一滑动槽位于通孔中部的上方,所述第一滑动槽的上端面与存放筒的上水平面未齐平。
所述存放筒内弧形侧面的上端在第一滑动槽的侧边均设置有转动槽,所述转动槽远离第一滑动槽的一端竖直开设有第二滑动槽,所述第二滑动槽的上端面与存放筒的上水平面齐平。
所述储存箱为椭圆结构,所述储存箱的外弧形侧面在长轴的两端均竖直固定连接有滑动柱,所述储存箱的外弧形侧面在底板的中部位置处设置有USB接口。
所述储存箱的外弧形侧面在滑动柱的侧边设置有显示器和扫描器,所述显示器位于扫描器的上方,且所述显示器和扫描器与储存箱固定连接。
所述盖板与储存箱相匹配,所述盖板靠近储存箱的水平侧面固定连接有橡胶板。
与现有技术相比,本实用新型提供的临床分药盒,至少实现了如下的有益效果:
本申请通过存放筒的设置便于为分药盒的放置提供空间,进而将同一病房内用药统一放置,便于一次分发完毕,通过分药盒的设置便于将同一病房内不同床位用药独立储存,进而实现准确快速的分发药品,而且通过扫描病人的腕带决定是否发放药品,提高药品发放的准确性,在使用方便的同时可准确无误的对同一病房内的病患分发药品,防止因人为发放导致错发药品。
当然,实施本实用新型的任一产品必不特定需要同时达到以上所述的所有技术效果。
通过以下参照附图对本实用新型的示例性实施例的详细描述,本实用新型的其它特征及其优点将会变得清楚。
【附图】:






























