授权专利
【实用新型】感应式尿管夹
专利号:ZL202022833601.4
申请日:20201130
发明人:赵磊
法律状态:授权
公开号:CN214232253U
授权公告日:2021-09-21
交易方式:转让; 许可
【摘要】:
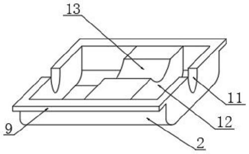
本实用新型涉及尿管夹技术领域,具体为感应式尿管夹,所述上卡夹的下表面安装有下卡夹,所述上卡夹与下卡夹的内部安装有尿管,所述尿管的一端安装有液压传感器,所述液压传感器的输出端安装有导线,所述尿管的另一端安装有尿袋,所述上卡夹的内部一端安装有控制器,所述上卡夹的上表面安装有气缸,所述上卡夹的内部气缸的对应位置处安装有压板,所述压板的下表面焊接有压块,所述下卡夹的内部安装有垫块,所述垫块的上表面开设有压槽,所述下卡夹的两侧均开设有下卡口,所述上卡夹的两侧均开设有上卡口。本实用新型尿管夹设置有智能控制器,设置有压力传感器,自动开启卡夹,省时省力,能自动适配患者的排尿速度。
【技术领域】:
本实用新型涉及尿管夹技术领域,具体是感应式尿管夹。
【实用新型内容】:
感应式尿管夹,所述上卡夹的下表面安装有下卡夹,所述上卡夹与下卡夹的内部安装有尿管,所述尿管的一端安装有液压传感器,所述液压传感器的输出端安装有导线,所述尿管的另一端安装有尿袋,所述上卡夹的内部一端安装有控制器,所述上卡夹的上表面安装有气缸,所述上卡夹的内部气缸的对应位置处安装有压板,所述压板的下表面焊接有压块,所述下卡夹的内部安装有垫块,所述垫块的上表面开设有压槽。
作为本实用新型再进一步的方案:所述下卡夹的两侧均开设有下卡口,所述上卡夹的两侧均开设有上卡口,所述下卡夹的前后外表面均焊接有下卡板,所述上卡夹的前后外表面均焊接有上卡板,所述上卡板的外表面焊接有卡片。
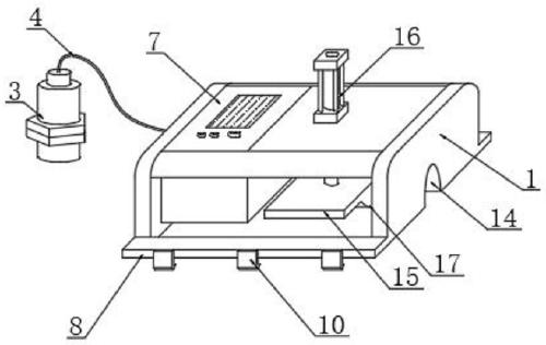
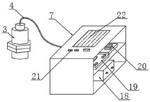
作为本实用新型再进一步的方案:所述控制器的上表面安装有控制按键与显示屏,所述控制器的内部安装有蓄电池、单片机与无线模块。
作为本实用新型再进一步的方案:所述液压传感器的输入端与尿管贯通连接,所述液压传感器通过导线与控制器电极连接。
作为本实用新型再进一步的方案:所述上卡夹与下卡夹均PC材质的构件,所述垫块与压板的位置上下对应,所述气缸的外缸固定于上卡夹的上表面,所述气缸的内杆贯穿上卡夹的上表面焊接于压板的上表面位置处,所述尿管下表面位于压槽的内部位置处,所述压块的下表面挤压于尿管的上表面位置处。
作为本实用新型再进一步的方案:所述下卡口与上卡口的内径与尿管的外径相适配,所述上卡夹与下卡夹通过下卡口与上卡口卡合于尿管的外表面位置处,所述卡片的下端卡合于下卡板的外表面位置处,所述下卡板与上卡板通过卡片卡合连接。
作为本实用新型再进一步的方案:所述蓄电池的输出端电极连接单片机的输入端,所述单片机的输出端电极连接无线模块、控制按键、显示屏、气缸与液压传感器的输入端。
与现有技术相比,本实用新型的有益效果是:本实用新型尿管夹设置有智能控制器,设置有压力传感器,膀胱尿液较多的时候,膀胱胀气压力传感器检测压力,当压力较大,自动开启卡夹,当尿液排出后自动关闭,省时省力,避免人工操作的麻烦,能自动适配患者的排尿速度,增加引流袋使用的舒适度,避免忘记开启卡夹导致患者憋尿的问题。
【附图】:






























