授权专利
【实用新型】床单整理器及监护床
专利号:ZL202120323261.2
申请日:20210203
发明人:马贺敏; 江禹彤
法律状态:授权
公开号:CN214434984U
授权公告日:2021-10-22
交易方式:转让; 许可
【摘要】:
本实用新型涉及医疗器械技术领域,尤其涉及一种床单整理器及监护床。一种床单整理器,包括分别用于设置在床体底部的第一横向驱动装置、第二横向驱动装置、第一纵向驱动装置和第二纵向驱动装置,还包括横向柔性连接件和纵向柔性连接件;横向柔性连接件和纵向柔性连接件上分别设置有用于连接床单的固定装置;横向柔性连接件的一端穿过横向导向装置并与第一横向驱动装置连接,横向柔性连接件的另一端穿过横向导向装置并与第二横向驱动装置连接;第一纵向驱动装置和第二纵向驱动装置驱动连接纵向柔性连接件。该监护床包括床体和床单整理器。本实用新型的目的在于提供床单整理器及监护床,以解决现有技术中存在的床单容易褶皱弄乱的技术问题。
【技术领域】:
本实用新型涉及医疗器械技术领域,尤其涉及一种床单整理器及监护床。
【实用新型内容】:
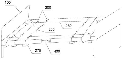
本实用新型提供的床单整理器,用于床体,包括分别用于设置在所述床体底部的第一横向驱动装置、第二横向驱动装置、第一纵向驱动装置和第二纵向驱动装置,还包括横向柔性连接件和纵向柔性连接件;
所述横向柔性连接件和所述纵向柔性连接件上分别设置有用于连接床单的固定装置;
所述横向柔性连接件的一端穿过横向导向装置并与所述第一横向驱动装置连接,所述横向柔性连接件的另一端穿过横向导向装置并与所述第二横向驱动装置连接;所述横向导向装置设置在所述床体底部;
所述第一纵向驱动装置驱动连接所述纵向柔性连接件的一端,所述第二纵向驱动装置驱动连接所述纵向柔性连接件的另一端。
可选地,所述第一横向驱动装置、所述第二横向驱动装置、所述第一纵向驱动装置和所述第二纵向驱动装置分别包括驱动电机和驱动转轴;
所述驱动电机用于设置在所述床体底部,所述横向柔性连接件或者所述纵向柔性连接件与所述驱动转轴连接;
所述驱动电机驱动连接所述驱动转轴转动,以使所述横向柔性连接件或者所述纵向柔性连接件缠绕在所述驱动转轴上,或者以使所述横向柔性连接件或者所述纵向柔性连接件从所述驱动转轴上释放。
可选地,所述第一横向驱动装置和所述第二横向驱动装置分别连接多个所述横向柔性连接件;
所述第一纵向驱动装置和所述第二纵向驱动装置分别连接多个所述纵向柔性连接件。
可选地,每个所述横向柔性连接件对应穿过一个所述横向导向装置。
可选地,所述的床单整理器还包括控制器;
所述第一横向驱动装置、所述第二横向驱动装置、所述第一纵向驱动装置和所述第二纵向驱动装置分别与所述控制器电连接;所述控制器用于分别驱动所述第一横向驱动装置、所述第二横向驱动装置、所述第一纵向驱动装置和所述第二纵向驱动装置正转、反转和停机。
可选地,所述横向柔性连接件和所述纵向柔性连接件均为绳索;
和/或,所述固定装置包括暗扣、魔术贴和卡扣。
可选地,所述纵向柔性连接件外套有用于设置在床体底部的纵向导向装置;
所述纵向导向装置设置在所述固定装置与所述第一纵向驱动装置之间,或者所述纵向导向装置设置在所述固定装置与所述第二纵向驱动装置之间。
可选地,所述横向导向装置为空心管;所述纵向导向装置为空心管;
所述空心管的管口内径小于所述固定装置的最大尺寸。
可选地,所述第一横向驱动装置的数量为一个或者多个;所述第二横向驱动装置的数量为一个或者多个;
所述第一纵向驱动装置的数量为一个或者多个;所述第二纵向驱动装置的数量为一个或者多个。
一种监护床,包括床体和床单整理器;
沿所述床体的横向,所述第一横向驱动装置和所述第二横向驱动装置分别固定在所述床体底部的两端;
沿所述床体的纵向,所述第一纵向驱动装置和所述第二纵向驱动装置分别固定在所述床体底部的两端。
本实用新型的有益效果:
本实用新型提供的床单整理器及监护床,通过横向柔性连接件和纵向柔性连接件上分别设置的固定装置以用于连接床单,以使床单连接在横向柔性连接件和纵向柔性连接件上;通过第一横向驱动装置和第二横向驱动装置连接横向柔性连接件,以使床单在横向上能够被拉伸,通过第一纵向驱动装置和第二纵向驱动装置连接纵向柔性连接件,以使床单在纵向上能够被拉伸,进而防止床单出现褶皱弄乱的现象,在一定程度上提高了患者的舒适度,减少了医护人员或者家属在整理床单上使用的时间和消耗的体力。
【附图】:



























