授权专利
【实用新型】一种冰敷加压制动支具
专利号:ZL202020316784.X
申请日:20200315
发明人:高丽; 张春晖; 韩大成; 许金燕
法律状态:授权
公开号:CN212592627U
授权公告日:2021-02-26
交易方式:转让; 许可
【摘要】:
本实用新型公开了一种冰敷加压制动支具,包括:第一支具本体、第二支具本体及铰链;所述第一支具本体与所述第二支具本体一侧通过铰链相连接,所述第一支具本体及第二支具本体上分别设置有存储结构,所述第二支具本体上设置有冰敷结构,位于所述存储结构上方;所述存储结构包括:卡槽、固定板及固定绳;本实用新型本装置利用固定板对骨折进行良好复位,用冰敷件对骨折后的腕部进行冰敷消肿,通过第一支具本体及第二支具本体对患者损伤的腕部进行固定、制动、加压、冰敷四大功能,固定板可根据患者的个人情况进行拆卸和更换,以实现更好的加压效果,冰敷件可拆卸设计,方便更换。
【技术领域】:
本实用新型涉及医疗技术领域,具体而言,是一种冰敷加压制动支具。
【实用新型内容】:
本实用新型公开了一种冰敷加压制动支具,包括:第一支具本体、第二支具本体及铰链;
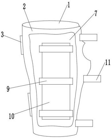
所述第一支具本体与所述第二支具本体一侧通过铰链相连接,所述第一支具本体及第二支具本体上分别设置有存储结构,所述第二支具本体上设置有冰敷结构,位于所述存储结构上方;
所述存储结构包括:卡槽、固定板及固定绳;
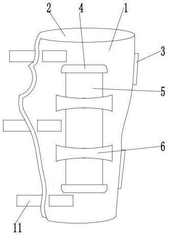
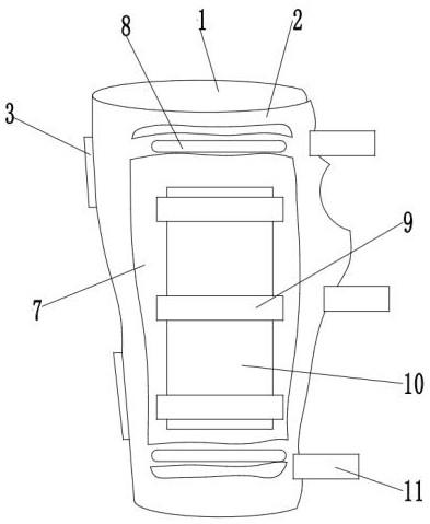
所述卡槽分别对称设置于所述第一支具本体及第二支具本体上,所述固定板设置于所述卡槽内,所述固定绳两端设置于所述第一支具本体及第二支具本体上,位于所述固定板两侧,用于固定所述固定板;
所述冰敷结构包括:冰敷底板、魔术贴、冰敷固定带及冰敷件;
所述冰敷底板通过所述魔术贴设置于所述第二支具本体上,位于所述固定板上方,所述冰敷固定带设置于所述冰敷底板上,所述冰敷件设置于所述冰敷底板上,位于所述冰敷固定带内。
优选的,所述第一支具本体及第二支具本体另一侧对称设置有多个粘扣。
优选的,所述固定板为可塑性铝板。
优选的,所述第一支具本体与所述第二支具本体形状大小相同。
优选的,所述冰敷件为解剖型冰袋。
本实用新型提供了一种冰敷加压制动支具。具备以下有益效果:本装置利用固定板对骨折进行良好复位,用冰敷件对骨折后的腕部进行冰敷消肿,通过第一支具本体及第二支具本体对患者损伤的腕部进行固定、制动、加压、冰敷四大功能,固定板可根据患者的个人情况进行拆卸和更换,以实现更好的加压效果,冰敷件可拆卸设计,方便更换。
【附图】:




























