授权专利
【实用新型】一种穿刺支架
专利号:ZL202021407076.3
申请日:20200716
发明人:谭颖
法律状态:授权
公开号:CN213030802U
授权公告日:2021-04-23
交易方式:转让; 许可
【摘要】:
本实用新型涉及医疗器械技术领域,公开了一种穿刺支架,为了提高医护人员对老年患者进行穿刺工作的精准性,所述支撑护架的前侧对称固定有定位机构,且支撑护架的内侧设置有气囊,所述气囊的内侧对称设置有气囊支条,且气囊的内壁连接有透气软垫,所述气囊的一侧连接有进气管,所述进气管的顶端连接有充气阀球。本实用新型通过定位结构对医疗床的套接,能够对穿刺支架进行定位处理,进而能够提高穿刺支架的稳定性,且在对老年患者进行穿刺过程中,通过将老年患者胳膊放置在支撑护架内,在气囊与气囊支条的充气支撑下,能够对老年患者胳膊上的肌肉进行支撑定位处理,进而便于医护人员对老年患者进行精准的穿刺工作。
【技术领域】:
本实用新型涉及医疗器械技术领域,具体是一种穿刺支架。
【实用新型内容】:
本实用新型提供如下技术方案:一种穿刺支架,包括支撑护架,所述支撑护架的前侧对称固定有定位机构,且支撑护架的内侧设置有气囊,所述气囊的内侧对称设置有气囊支条,且气囊的内壁连接有透气软垫,所述气囊的一侧连接有进气管,所述进气管的顶端连接有充气阀球;
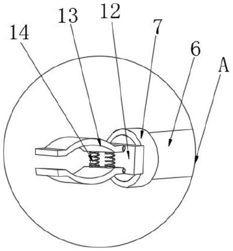
所述定位机构包括对称固定在支撑护架前侧的定位支架,所述定位支架的前表面嵌入开设有限位卡槽,且定位支架通过限位卡槽与支撑主杆卡合,所述支撑主杆的顶端嵌入卡合有伸缩支杆,所述伸缩支杆的顶端设置有轴承座,所述轴承座的前侧固定有定位支座,所述定位支座的前侧对称连接有夹柄,所述夹柄的内侧固定有复位弹簧。
作为本实用新型再进一步的方案:所述支撑主杆的尾端设置有与限位卡槽相适配的T形卡块,且支撑主杆与定位支架通过T形卡块和限位卡槽卡合滑动。
作为本实用新型再进一步的方案:所述支撑主杆与伸缩支杆的长度相同,且支撑主杆与伸缩支杆的长度均不低于10cm,且支撑主杆与伸缩支杆通过紧固旋钮拧合固定。
作为本实用新型再进一步的方案:所述夹柄的数量为两组,且夹柄通过复位弹簧弹性对称连接。
作为本实用新型再进一步的方案:所述气囊为U形结构,且气囊的外径与支撑护架的内径相适配,所述气囊与支撑护架通过固定胶水黏接固定。
作为本实用新型再进一步的方案:所述气囊支条的数量为两组,每组不少于两个,所述气囊支条相对于气囊的水平中线相互对称排列。
作为本实用新型再进一步的方案:所述透气软垫采用棉纤维材质构件,且透气软垫的厚度不低于5mm。
与现有技术相比,本实用新型的有益效果是:
本实用新型通过定位结构对医疗床的套接,能够对穿刺支架进行定位处理,进而能够提高穿刺支架的稳定性,避免在穿刺过程中老年患者胳膊无意识移动,导致穿刺针的角度出现倾斜的情况,且在对老年患者进行穿刺过程中,通过将老年患者胳膊放置在支撑护架内,在气囊与气囊支条的充气支撑下,能够对老年患者胳膊上的肌肉进行支撑定位处理,进而便于医护人员对老年患者进行精准的穿刺工作。
【附图】:





























