授权专利
【实用新型】一种多功能灌肠袋
专利号:ZL202021257376.8
申请日:20200630
发明人:郎影
法律状态:授权
公开号:CN213031480U
授权公告日:2021-04-23
交易方式:转让; 许可
【摘要】:
本实用新型涉及医疗用品技术领域,具体是一种多功能灌肠袋,包括灌肠袋,所述灌肠袋的瓶口处插接有插针,且插针的末端连接有导流管,所述导流管的中部连接有存药盒,且导流管上位于存药盒的下方套接有开关壳,所述导流管的末端连接有三通,且三通的一端连接有肛管。当灌肠袋内的生理盐水通过导流管进入到存药盒的内部会冲击水轮,水轮转动将药物和生理盐水进行充分混合,解决了传统灌肠装置药物不能充分溶解和浪费的弊端,同时本装置肛管的端部套接硅胶球囊,在插入时球囊会保护肠道黏膜,防止被划伤,同时在进行灌肠时可以对球囊进行充气,球囊膨胀后堵塞在患者直肠内,防止肠道内的液体喷出。
【技术领域】:
本实用新型涉及医疗用品技术领域,具体是一种多功能灌肠袋。
【实用新型内容】:
本实用新型提供如下技术方案:一种多功能灌肠袋,包括灌肠袋,所述灌肠袋的瓶口处插接有插针,且插针的末端连接有导流管,所述导流管的中部连接有存药盒,且导流管上位于存药盒的下方套接有开关壳,所述导流管的末端连接有三通,且三通的一端连接有肛管,所述三通另一端连接有导管,且导管上设置有连接开关,所述连接开关的开口处对接有连接管,所述连接管的末端连接有负压瓶。
作为本实用新型进一步的方案:所述存药盒的内壁之间水平熔接有转轴,且转轴上套间有水轮,所述存药盒的外壁且位于导流管连接点的一侧设置有注药管,且注药管内塞入连接有螺纹堵头。
作为本实用新型再进一步的方案:所述存药盒和导流管的上端连接处位于存药盒顶部,且存药盒与导流管下端连接处位于存药盒侧面。
作为本实用新型再进一步的方案:所述开关壳为直角梯形构件,且开关壳的两侧开设有约束槽,所述约束槽内活动插接有连接轴,且连接轴上套接有滚轮,所述导流管位于开关壳内侧和滚轮之间。
作为本实用新型再进一步的方案:所述肛管的末端套接有球囊,且球囊为硅胶材质纺锤形构件,所述球囊上设置有阀门。
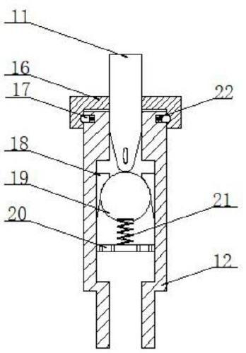
作为本实用新型再进一步的方案:所述连接开关靠近导管连接端的一侧内部设有镂空板,且镂空板的内侧中心设置有第一弹簧,所以第一弹簧为PP材质,所述第一弹簧顶部连接有堵球,所述连接开关的内壁且位于堵球的两侧设置有限位块,所述限位块上小下大,且限位块侧面呈弧形。
作为本实用新型再进一步的方案:所述连接管和连接开关对接的一侧套接有密封盖,且密封盖的侧面开设有凹槽,所述连接开关的外侧开设有安装槽,并且安装槽内设有第二弹簧,所述第二弹簧的端部连接有弹扣。
与现有技术相比,本实用新型的有益效果是:本装置在存药盒里加设有水轮,当灌肠袋内的生理盐水通过导流管进入到存药盒的内部会冲击水轮,水轮转动将药物和生理盐水进行充分混合,解决了传统灌肠装置药物不能充分溶解和浪费的弊端,同时本装置将放入到患者身体内部的肛管的端部套接硅胶球囊,由于肛管需要承受肛门的压迫,因此一般肛管材质比较硬,所以在插入时即使涂抹润滑液也容易造成,肠道粘膜受损,还是本装置将肛管端部隐藏到硅胶球囊内,在插入时,球囊会保护肠道黏膜,防止被划伤,同时在进行灌肠时可以对球囊进行充气,球囊膨胀后堵塞在患者直肠内,防止肠道内的液体喷出,造成衣物污染,而且在进行灌肠时,可以将本装置连接负压瓶,首先将患者肠道内的液体进行收集。
【附图】:




























