授权专利
【实用新型】一种化验室样品处理装置
专利号:ZL202120232092.1
申请日:20210128
发明人:黎春光
法律状态:授权
公开号:CN212646268U
授权公告日:2021-03-02
交易方式:转让; 许可
【摘要】:
本实用新型属于搅拌机械技术领域,其公开了一种化验室样品处理装置,包括 : 主体结构、样品处理机构以及驱动机构,主体结构包括底板、中空支撑座以及立板。本实用新型的化验室样品处理装置,可有效防止在对装有样品的试管处理的过程中发生试管坠落的意外现象,性能比较稳定,安全可靠,能够对装有样品的试管内部的样液进行充分搅匀,可有效防止装有样品的试管内部的样液发生沉淀的不良现象,有效保证化验结果的准确性,也可用于医院检验科对血样摇匀使用,适用范围较大,可有效避免血样放置过程中血液中的成分出现沉淀的不良现象,从保证血检结果的准确性,有利于准确确诊患者的病情,最终实现精准治疗的目的,有利于患者早日康复。
【技术领域】:
本实用新型涉及搅拌机械技术领域,具体为一种化验室样品处理装置。
【实用新型内容】:
本实用新型的目的在于提供一种化验室样品处理装置,可有效防止在对装有样品的试管处理的过程中发生试管坠落的意外现象,性能比较稳定,安全可靠,能够对装有样品的试管内部的样液进行充分搅匀,可有效防止装有样品的试管内部的样液发生沉淀的不良现象,有效保证化验结果的准确性,也可用于医院检验科对血样摇匀使用,适用范围较大,可有效避免血样放置过程中血液中的成分出现沉淀的不良现象,从保证血检结果的准确性,有利于准确确诊患者的病情,最终实现精准治疗的目的,有利于患者早日康复,以解决上述背景技术中提出的问题。
为实现上述目的,本实用新型提供如下技术方案:
一种化验室样品处理装置,包括:
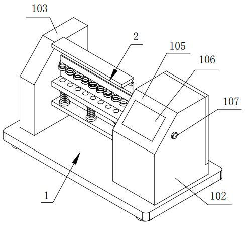
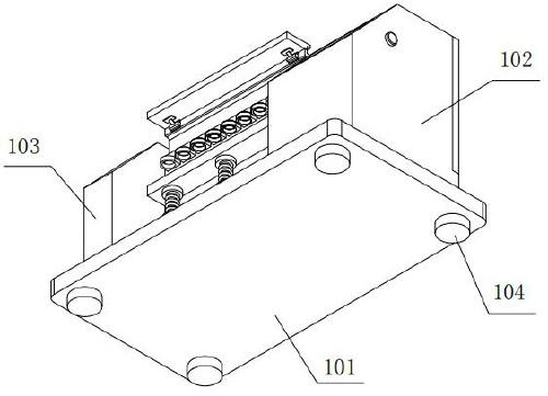
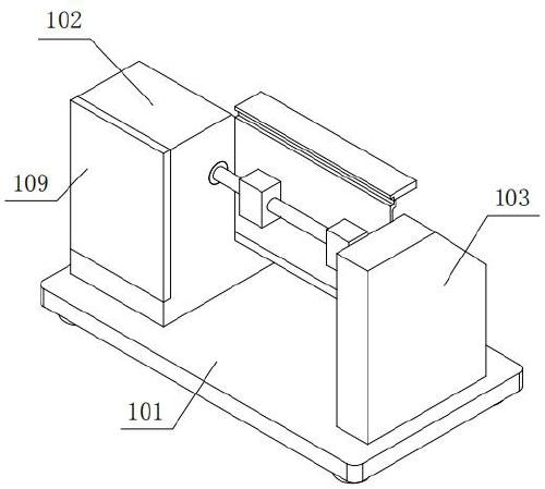
主体结构,所述主体结构包括底板、中空支撑座以及立板,所述底板水平设置,所述中空支撑座和所述立板均固定安装在所述底板的上部;
样品处理机构,所述样品处理机构包括支撑轴、固定板、第一安装板、第二安装板、支撑板以及若干固定环,所述支撑轴通过滚动轴承转动安装在所述中空支撑座与所述立板之间,且所述支撑轴水平设置,所述固定板通过连接块固定安装在所述支撑轴上,所述第一安装板通过弹簧铰链安装在所述固定板的上部边缘,所述第二安装板固定安装在所述固定板的底部边缘,且所述第二安装板和所述第一安装板均朝向所述固定板背向所述支撑轴的一侧延伸,所述支撑板通过弹性件固定安装在所述第二安装板的上部,且所述支撑板水平设置,若干所述固定环均固定安装在所述固定板背向所述支撑轴的一侧面上,且若干所述固定环均位于所述第一安装板与所述支撑板之间;
驱动机构,所述驱动机构包括电机、主动齿轮以及从动齿轮,所述电机通过电机座固定安装在所述中空支撑座的内部,所述主动齿轮固定安装在所述电机的转动轴端部,所述从动齿轮固定安装在所述支撑轴的一端端部,且所述从动齿轮位于所述中空支撑座的内部,所述从动齿轮与所述主动齿轮相互啮合。
上述的一种化验室样品处理装置,其中,所述支撑板的上部还开设有若干限位槽,若干所述限位槽分别对应若干所述固定环设置。
上述的一种化验室样品处理装置,其中,所述固定板背向所述支撑轴的一侧面上还水平开设有凹槽,所述凹槽位于所述第一安装板与所述固定环之间。
上述的一种化验室样品处理装置,其中,所述弹性件包括第一弹簧座、第二弹簧座以及弹簧,所述第一弹簧座固定安装在所述第二安装板的上部,所述第二弹簧座固定安装在所述支撑板的底部,所述弹簧固定安装在所述第一弹簧座与所述第二弹簧座之间。
上述的一种化验室样品处理装置,其中,所述第一安装板朝向所述支撑轴的一侧边缘与所述固定板朝向所述支撑轴的一侧面的交界处水平开设有容纳槽。
上述的一种化验室样品处理装置,其中,所述中空支撑座的前部设有斜面,且所述中空支撑座的内部固定安装有控制器,所述斜面上固定安装有触控显示屏,所述触控显示屏通过数据线与所述控制器双向电性连接,所述控制器的控制输出端通过控制线与所述电机的电控端电性连接。
上述的一种化验室样品处理装置,其中,所述中空支撑座背向所述立板的一侧面上还固定安装有电源开关,所述电源开关分别与所述控制器和所述电机串联连接。
上述的一种化验室样品处理装置,其中,所述中空支撑座的后部为开口结构,且所述中空支撑座的后部通过螺钉安装有后盖板。
上述的一种化验室样品处理装置,其中,所述底板的底部固定有四个对称设置的支脚,四个所述支脚均为橡胶支脚。
上述的一种化验室样品处理装置,其中,若干所述固定环的外部均包覆有橡胶防护层,所述第一安装板的底部设有橡胶防护层,所述支撑板的上部设有橡胶防护层。
与现有技术相比,本实用新型的有益效果是:
1、本实用新型,可以将化验室中封口的装有样品的试管放置在固定环内,支撑板的上部对装有样品的试管的底端进行支撑限位,第一安装板在弹簧铰链的作用下利用其底部对装有样品的试管的上端朝下压紧,从而实现利用支撑板和第一安装板相互配合将装有样品的试管固定在固定环内的目的,可有效防止固定板在随着支撑轴转动的过程中发生装有样品的试管坠落的意外现象,从而使得该化验室样品处理装置性能比较稳定;
2、本实用新型,可以驱动装有样品的试管做圆周运动,对装有样品的试管内部的样液进行充分搅匀,可有效防止装有样品的试管内部的样液发生沉淀的不良现象,进而保证化验结果的准确性;
3、本实用新型,该化验室样品处理装置也可用于医院检验科对血样摇匀使用,适用范围较大,可有效避免血样放置过程中血液中的成分出现沉淀的不良现象,从保证血检结果的准确性,有利于准确确诊患者的病情,最终实现精准治疗的目的,有利于患者早日康复;
4、本实用新型,在弹性件的作用下使得支撑板具备上下弹性浮动的性能,这样可以防止试管被压碎,从而使得该化验室样品处理装置安全可靠。
【附图】:

































