授权专利
【实用新型】一种基础护理操作模具
专利号:ZL202022103070.3
申请日:20200923
发明人:李新萍
法律状态:授权
公开号:CN212966621U
授权公告日:2021-04-13
交易方式:转让; 许可
【摘要】:
本实用新型涉及护理设备技术领域,公开了一种基础护理操作模具,包括背模,所述背模的两侧连接有连接机构,所述连接机构的内部包括连接在背模两侧的第一连接块,所述第一连接块的一侧连接有第二圆管,所述第二圆管的内部连接有螺栓,所述螺栓的外侧套接有第一圆管,所述螺栓的末端外侧套接有螺母,本实用新型通过连接机构,将螺栓从第一圆管和第二圆管中取出,即可实现第一圆管和第二圆管分离,当需要重新组装时,将螺栓依次插入第一圆管和第二圆管的内部,并在螺栓末端拧上螺母,即可将第一圆管和第二圆管两侧所连接的模具进行组合,解决了现有操作模具体积比较大,携带不是很方便,增加了操作者的工作负担的问题。
【技术领域】:
本实用新型涉及护理设备技术领域,具体是一种基础护理操作模具。
【实用新型内容】:
本实用新型的目的在于提供一种基础护理操作模具,以解决上述背景技术中提出的问题。
为实现上述目的,本实用新型提供如下技术方案:
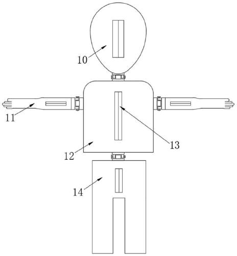
一种基础护理操作模具,包括背模,所述背模的两侧连接有一组连接机构,一组所述连接机构的内部包括连接在背模两侧的第一连接块,所述第一连接块的一侧连接有一组第二圆管,一组所述第二圆管的内部连接有螺栓,所述螺栓的外侧且位于一组第二圆管的中间位置套接有第一圆管,所述螺栓的末端外侧套接有螺母,所述第一圆管的一侧连接有第二连接块,所述第二连接块的一侧连接有手臂模,所述背模的上方通过连接机构连接有头模,所述背模的下方通过连接机构连接有臀模,所述头模、手臂模、背模和臀模的内部均开设有凹槽,所述头模、手臂模、背模和臀模的上方靠近凹槽的位置连接有拉链,所述凹槽的内部连接有海绵。
作为本实用新型再进一步的方案:所述头模的前侧从上向下依次粘接有眼模、鼻模和嘴模。
作为本实用新型再进一步的方案:所述背模的前侧从上向下依次粘接有食道模和胃模。
作为本实用新型再进一步的方案:所述手臂模的前侧的一端粘接有静脉模。
作为本实用新型再进一步的方案:所述臀模的前侧从上向下依次粘接有膀胱模和尿道模。
作为本实用新型再进一步的方案:所述头模、手臂模、背模和臀模采用的是一种橡胶材质的构件。
与现有技术相比,本实用新型的有益效果是:
1、通过连接机构,当需要将模具进行拆卸时,只需将螺母从螺栓的外侧拧下,并将螺栓从第一圆管和第二圆管中取出,即可实现第一圆管和第二圆管以及其连接的机构实现分离,当需要重新组装时,将螺栓依次插入第一圆管和第二圆管的内部,并在螺栓末端拧上螺母,即可将第一圆管和第二圆管两侧所连接的模具进行组合,解决了现有操作模具体积比较大,携带不是很方便,增加了操作者的工作负担的问题。
2、通过海绵和拉链,通过海绵可将模具内部填充填满,在拉链的作用下,防止海绵溢出,既维持模具的饱满性,有降低了模具的重量,有利于医护人员更加轻松的操作,降低医护人员的劳动强度。
【附图】:





























