授权专利
【实用新型】一种精准立体定向脑内血肿穿刺装置
专利号:ZL201921595381.7
申请日:20190924
发明人:王森
法律状态:授权
公开号:CN212574923U
授权公告日:2021-02-23
交易方式:转让; 许可
【摘要】:
本实用新型公开了一种精准立体定向脑内血肿穿刺装置,包括电钻、立体定向限位器和YL‑1型颅内血肿碎吸针,所述电钻固定有连接杆。本实用新型中,立体定向血肿穿刺是目前神经外科对于脑内血肿患者常用的临床方法,其特点为精准、微创,尤其是无框架立体定向系统对于各个部位的脑内血肿均可准确穿刺,YL‑1型颅内血肿碎吸套装也是目前应用最为广泛的颅内血肿穿刺材料,其特点是快速、微创、方便,本发明意在结合两者,将电钻与硬通道连接,借助立体定向限位器的方向固定,将硬通道精准的快速的放置到预定靶点,从而快速引流血肿,发挥两者优点,精准、快速、微创、便捷的解决颅内血肿穿刺问题。
【技术领域】:
本实用新型涉及立体定向血肿穿刺领域,具体为一种精准立体定向脑内血肿穿刺装置。
【实用新型内容】:
本实用新型提供一种精准立体定向脑内血肿穿刺装置,可以有效解决上述背景技术中提出的硬通道针尾钻透颅骨至靶点时,精准性欠佳的问题。
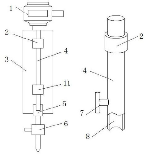
为实现上述目的,本实用新型提供如下技术方案:一种精准立体定向脑内血肿穿刺装置,包括电钻、立体定向限位器和YL-1型颅内血肿碎吸针,所述电钻固定有连接杆,且连接杆的偏上位置处设置有第一限位器,连接杆的偏下位置处设置有第二限位器,其中第一限位器与第二限位器分别固定到立体定向限位器上,所述连接杆的底部连接有钻头夹的上方,其中钻头夹的下方连接有YL-1型颅内血肿碎吸针。
优选的,所述连接杆还有另一种连接方式,即连接杆上同样设置有第一限位器和第二限位器,其连接杆的底部设置有内凹型结构的内凹槽,且连接杆的底部外侧边上设置有锁块,用于固定YL-1型颅内血肿碎吸针。
优选的,所述立体定向限位器包含有限位杆、限位板,其中限位杆设置成L型结构,且第二限位器可拆卸的设置在限位杆水平方向的杆上,限位板通过螺杆可拆卸的固定在限位杆竖直方向的杆上,且限位板的一侧通过连接杆与第一限位器通过螺杆可拆卸连接。
优选的,所述第一限位器与第二限位器处于同一条竖直线上。
与现有技术相比,本实用新型的有益效果:立体定向血肿穿刺是目前神经外科对于脑内血肿患者常用的临床方法,其特点为精准、微创,尤其是无框架立体定向系统对于各个部位的脑内血肿均可准确穿刺,YL-1型颅内血肿碎吸套装也是目前应用最为广泛的颅内血肿穿刺材料,其特点是快速、微创、方便,本发明意在结合两者,将电钻与硬通道连接,借助立体定向限位器的方向固定,将硬通道精准的快速的放置到预定靶点,从而快速引流血肿,发挥两者优点,精准、快速、微创、便捷的解决颅内血肿穿刺问题。
【附图】:



























