授权专利
【实用新型】一种手术腿部支撑支架
专利号:ZL202021671550.3
申请日:20200812
发明人:冯东翠
法律状态:授权
公开号:CN213250862U
授权公告日:2021-05-25
交易方式:转让; 许可
【摘要】:
本实用新型公开了一种手术腿部支撑支架,涉及到手术腿部支撑支架领域,包括手术床板,手术床板的内部设有伸缩槽,伸缩槽中设有可伸缩的伸缩板,伸缩板的两侧设置有伸展板,伸展板的端部固定有固定在手术床板一侧的橡胶板,伸展板、伸缩板、手术床板、橡胶板组成矩形床体,伸展板可向手术床板两侧展开,用于腿部支撑,且伸缩板可进行伸缩,方便医护人员站立在向两边展开的伸展板之间,而手术床板在伸缩板和伸展板初始组成矩形床体的状态下可当正常手术床使用。
【技术领域】:
本实用新型涉及手术腿部支撑支架领域,特别涉及一种手术腿部支撑支架。
【实用新型内容】:
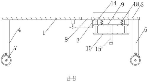
本实用新型提供如下技术方案:一种手术腿部支撑支架,包括手术床板,所述手术床板的内部设有伸缩槽,所述伸缩槽中设有可伸缩的伸缩板,所述伸缩板的两侧设置有伸展板,所述伸展板的端部固定有固定在手术床板一侧的橡胶板,所述伸展板、伸缩板、手术床板、橡胶板组成矩形床体,所述伸缩板的底部一侧固定焊接有二号固定板,所述手术床板的底部中间位置固定焊接有一号固定板,所述一号固定板上固定有连接在二号固定板上拉动二号固定板而使伸缩板在伸缩槽中伸缩的伸缩单元,所述伸展板的底部一侧固定焊接有设置在手术床板下方的螺杆,所述手术床板的底部固定焊接有传动单元,所述传动单元的传动轴一端固定连接在螺杆上。
优选的,所述伸展板的底部设置有可升降的导向板,所述导向板呈凹字形结构,导向板的两端活动穿过伸展板并伸出在手术床板的上方,导向板与伸展板之间形成和手术床板长度方向走向一致并用于放置手术床板上躺着的病患腿部的槽体。
优选的,所述伸展板的底部设置有支撑板,所述支撑板的两端一体设有活动穿过导向板并与伸展板底部固定的连接杆,所述支撑板的中部通过螺纹配合连接有端部活动贴合在导向板底面的螺杆,所述伸展板的底部设置有支撑导向板朝向伸展板下方移动的弹簧。
优选的,所述手术床板的底部两侧均固定设置有第一支撑腿,所述伸展板的底部一侧固定设有第二支撑腿,所述伸缩板的底部一侧固定设置有第三支撑腿。
优选的,所述第一支撑腿、第二支撑腿、第三支撑腿的底部均设置有带有刹车的移动轮。
优选的,所述伸展板的表面设置有与导向板匹配并供导向板端部伸出的矩形槽。
本实用新型的技术效果和优点:
1、本实用新型的一种手术腿部支撑支架,包括手术床板,手术床板的内部设有伸缩槽,伸缩槽中设有可伸缩的伸缩板,伸缩板的两侧设置有伸展板,伸展板的端部固定有固定在手术床板一侧的橡胶板,伸展板、伸缩板、手术床板、橡胶板组成矩形床体,伸展板可向手术床板两侧展开,用于腿部支撑,且伸缩板可进行伸缩,方便医护人员站立在向两边展开的伸展板之间,而手术床板在伸缩板和伸展板初始组成矩形床体的状态下可当正常手术床使用;
2、本实用新型的一种手术腿部支撑支架,伸展板的底部设置有可升降的导向板,导向板呈凹字形结构,导向板的两端活动穿过伸展板并伸出在手术床板的上方,导向板与伸展板之间形成和手术床板长度方向走向一致并用于放置手术床板上躺着的病患腿部的槽体,方便病人腿部的稳定放置,不易脱出伸展板。
【附图】:




























