授权专利
【实用新型】一种输液支架
专利号:ZL202021972359.2
申请日:20200910
发明人:姬剑剑
法律状态:授权
公开号:CN213252011U
授权公告日:2021-05-25
交易方式:转让; 许可
【摘要】:
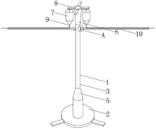
本实用新型公开了一种输液支架,涉及到医疗用具领域,包括:支架本体;所述支架本体具有底座、支撑段、以及悬挂段;所述支撑段固定连接于底座的上端中心处,悬挂段固定连接于支撑段的上端;所述悬挂段的外侧周向固定连接有用于设置液瓶的支杆,所述液瓶的下端设有液管,液管呈向下延伸状;所述支撑段的外侧周向活动连接有用于贴合液瓶的液管的导向杆,所述导向杆可通过活动以与支撑段相对平行或垂直;支撑段的直径最小,能够被使用者握住以方便进行移动,且支架本体的底座为实心,其余均为空心以降低其重心,保证了使用稳定性;且支架本体的悬挂段能够同时装载多个液瓶,以同时满足多个病人的吊液需求。
【技术领域】:
本实用新型涉及医疗用具领域,特别涉及一种输液支架。
【实用新型内容】:
本实用新型提供如下技术方案:一种输液支架,包括:支架本体;所述支架本体具有底座、支撑段、以及悬挂段;
所述支撑段固定连接于底座的上端中心处,悬挂段固定连接于支撑段的上端;
所述悬挂段的外侧周向固定连接有用于设置液瓶的支杆,所述液瓶的下端设有液管,液管呈向下延伸状;
所述支撑段的外侧周向活动连接有用于贴合液瓶的液管的导向杆,所述导向杆可通过活动以与支撑段相对平行或垂直。
作为上述方案的进一步优化,所述支撑段的下端和底座之间具有第一过渡段;
所述支撑段的上端和悬挂段之间具有第二过渡段;
所述第一过渡段的直径向上逐渐变小,第二过渡段的直径向下逐渐变小,以使支撑段的横截面直径小于底座、悬挂段的横截面直径。
作为上述方案的进一步优化,所述底座为实心结构,所述支撑段和悬挂段均为空心结构。
作为上述方案的进一步优化,所述导向杆的一端与支撑段的上端外侧周向通过铰接座铰接,且铰接座设置于导向杆的一端下方,所述导向杆的一端上方设有弹性挡块,当导向杆与支撑段相对垂直时,弹性挡块抵压所述导向杆的一端上表面。
作为上述方案的进一步优化,所述导向杆的上表面沿导向杆的长度方向设有与液管配合的凹槽,所述液管和导向杆贴合时,液管嵌入凹槽内。
作为上述方案的进一步优化,所述支撑段的上端外侧周向内设有凹孔,所述凹孔的底面通过压缩弹簧连接弹性挡块,自然状态下压缩弹簧扩张以将弹性挡块向外弹出,以使弹性挡块抵压导向杆的一端上表面。
作为上述方案的进一步优化,所述底座的底面阵列设有三个滑槽,三个所述滑槽内均滑动连接有滑块,所述滑块可在滑槽内外滑动。
作为上述方案的进一步优化,所述支杆的数量为四个,对应的支杆数量也为四个。
本实用新型的技术效果和优点:
1.设置的支架本体具有底座、支撑段、以及悬挂段,支撑段的直径最小,能够被使用者握住以方便进行移动,且支架本体的底座为实心,其余均为空心以降低其重心,保证了使用稳定性;且支架本体的悬挂段能够同时装载多个液瓶,以同时满足多个病人的吊液需求;
2.设置的导向杆与液管相匹配,能够将液管横向地导向,避免了液管之间的交叉或缠绕现象,也就是说,导向杆的设置能够将液管承托至其他位置,以实现对其他位置的病人吊液;
3.设置的导向杆为可活动地连接方式,其在不使用时与支撑段保持平行,不占用过多空间,其在使用时与支撑段保持垂直,且被弹性挡块所定位,无需人工手扶等操作,使用方便。
【附图】:





























