授权专利
【实用新型】一种消毒支架
专利号:ZL202021405956.7
申请日:20200716
发明人:张莎
法律状态:授权
公开号:CN213098961U
授权公告日:2021-05-04
交易方式:转让; 许可
【摘要】:
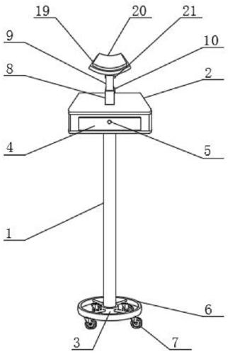
本实用新型涉及医疗技术领域,具体是一种消毒支架,包括支撑杆,所述支撑杆的上端固定有储物盒,且支撑杆的下方固定有连接套,所述储物盒的上方连接有支撑机构,且储物盒的内部设置有抽屉,所述连接套的外部连接有基座,所述抽屉的前表面位于上方位置处固定有把柄,所述基座的下方等间距固定有万向轮。本实用新型设计新颖,可同时为患者和医护人员提供便利,在患者使用PICC时,需要进行消毒,在消毒期间可将手臂放于支撑板上,可通过调整第二支杆的高度,来把手臂和床面的夹角调至45°作用,在此期间,不需患者的手臂过多地用力,又便于医护人员操作,以保证良好的消毒效果,减轻了患者的痛苦。
【技术领域】:
本实用新型涉及医疗技术领域,具体是一种消毒支架。
【实用新型内容】:
本实用新型提供如下技术方案:一种消毒支架,包括支撑杆,所述支撑杆的上端固定有储物盒,且支撑杆的下方固定有连接套,所述储物盒的上方连接有支撑机构,且储物盒的内部设置有抽屉,所述连接套的外部连接有基座,所述抽屉的前表面位于上方位置处固定有把柄,所述基座的下方等间距固定有万向轮。
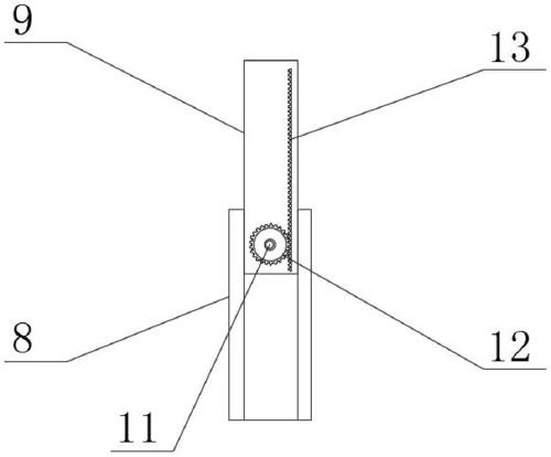
作为本实用新型更进一步的方案,所述支撑机构包括第一支杆,所述第一支杆的上方设置有第二支杆,且第一支杆的一侧设置有旋钮,所述第一支杆的后表面固定有固定片,所述旋钮的一端位于第一支杆的内部设有齿轮,且旋钮与齿轮之间通过转轴相连,所述第二支杆的一侧对应齿轮的位置处固定有齿牙,所述第二支杆的后侧固定有固定板,且第二支杆的上方设置有连接件,所述固定片的前侧设置有夹块,且固定片与夹块之间通过伸缩杆相连,所述连接件的上方设有支撑板,且连接件与支撑板之间通过连接块转动相连,所述固定板的上方连接有弹簧。
作为本实用新型更进一步的方案,所述支撑板的上表面设置有软垫,所述软垫为一种PVC材质的构件,且软垫的内部填充有海绵。
作为本实用新型更进一步的方案,所述支撑板呈弧形结构的构件,且支撑板的厚度为2.5cm。
作为本实用新型更进一步的方案,所述夹块呈“C”形结构的构件,且夹块的内径与转轴的直径相适配。
作为本实用新型更进一步的方案,所述第一支杆的内径与第二支杆的外径相适配,且第一支杆的长度与第二支杆的长度相等。
与现有技术相比,本实用新型的有益效果是:本实用新型设计新颖,可同时为患者和医护人员提供便利,在患者使用PICC时,需要进行消毒,在消毒期间可将手臂放于支撑板上,可通过调整第二支杆的高度,来把手臂和床面的夹角调至45°作用,在此期间,不需患者的手臂过多地用力,又便于医护人员操作,以保证良好的消毒效果,减轻了患者的痛苦。
【附图】:




























