授权专利
【实用新型】一种引流管固定器
专利号:ZL202022273473.2
申请日:20201013
发明人:谢芳
法律状态:授权
公开号:CN213554735U
授权公告日:2021-06-29
交易方式:转让; 许可
【摘要】:
本实用新型属于医疗用品技术领域,具体涉及一种引流管,其包括固定盘以及至少两个卡扣;所述卡扣上设置有用于取/放引流管的开口,所有的卡扣均设置在所述固定盘的同一面,且所述卡扣的开口朝向所述固定盘的侧壁设置,相邻两个所述卡扣的开口的方向相反;所述固定盘背离所述卡扣的一面设置有便于粘贴固定的黏贴层。该引流管固定器可以将引流管卡设在至少两个开口方向相反的卡扣中,然后将该引流管固定器移动至引流管的最佳固定位置,并通过固定盘上的黏贴层粘贴在患者的身上,以使引流管能够得到固定,从而有效的避免引流管由引流位置脱出的情况发生。
【技术领域】:
本实用新型属于医疗用品技术领域,具体涉及一种引流管固定器。
【实用新型内容】:
为了解决现有技术存在的上述问题,本实用新型提供一种结构简单、小巧的引流管固定器,以解决现有技术中存在的引流管容易由引流位置脱落,且不容易固定的技术问题。
本实用新型通过以下技术方案具体实现:
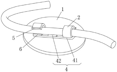
一种引流管固定器,包括固定盘以及至少两个卡扣;
所述卡扣上设置有用于取/放引流管的开口,所有的卡扣均设置在所述固定盘的同一面,且所述卡扣的开口朝向所述固定盘的侧壁设置,相邻两个所述卡扣的开口的方向相反;
所述固定盘背离所述卡扣的一面设置有便于粘贴固定的黏贴层。
为了更好的实现本实用新型,在上述结构中作进一步的优化,相邻两个所述卡扣之间具有工作间隙,且所述工作间隙处设置有便于固定引流管的定位件。
为了更好的实现本实用新型,在上述结构中作进一步的优化,所述定位件包括底板和两个侧板,所述底板固定设置在所述固定盘上,两个所述侧板分别设置在所述底板的两侧,并与所述底板形成定位槽。
为了更好的实现本实用新型,在上述结构中作进一步的优化,两个所述侧板的相对面均为圆弧面,所述圆弧面的直径与引流管的直径相匹配。
为了更好的实现本实用新型,在上述结构中作进一步的优化,所述卡扣远离所述固定盘的一端设置有便于调整开口的大小的拉手部。
为了更好的实现本实用新型,在上述结构中作进一步的优化,所述卡扣靠近所述固定盘的一端设置有防止引流管脱出的凸部。
为了更好的实现本实用新型,在上述结构中作进一步的优化,所述黏贴层的黏贴面上设置有贴纸。
为了更好的实现本实用新型,在上述结构中作进一步的优化,所述卡扣上的开口的宽度小于引流管的直径。
为了更好的实现本实用新型,在上述结构中作进一步的优化,所述卡扣与所述固定盘为一体成型构件。
为了更好的实现本实用新型,在上述结构中作进一步的优化,所述卡扣的内侧壁上设置有防滑部。
综上所述,本实用新型具有以下技术效果:
该引流管固定器可以将引流管卡设在至少两个开口方向相反的卡扣中,然后将该引流管固定器移动至引流管的最佳固定位置,并通过固定盘上的黏贴层粘贴在患者的身上,以使引流管能够得到固定,从而有效的避免引流管由引流位置脱出的情况发生。
此外,本实用新型的优化方案还具有以下技术效果:
本实用新型的优化方案为两个卡扣之间设置有定位件,该定位件能够更好的完成引流管的梳理,且避免引流管出现牵拉或者扭曲的情况,以使引流管的固定更加的方便。
【附图】:



























