授权专利
【实用新型】一种便携式腹膜透析操作仓
专利号:CN201920967530.1
申请日:20190626
发明人:蔡佳杰
法律状态:授权
公开号:CN210844566U
授权公告日:2020-06-26
交易方式:转让; 许可
【摘要】:
本实用新型公开了一种便携式腹膜透析操作仓,包括操作仓本体,所述操作仓本体的一端内底部固定连接有支撑杆,所述支撑杆的顶部固定连接有支撑块,所述操作仓本体靠近支撑块的一端通过升降机构连接有按压块,所述按压块的底部和支撑块顶部均设有呈弧形设置的固定槽。本实用新型中,通过支撑杆、支撑块、按压块、转动块、螺纹杆、把手、伸缩杆和凸块的配合作用,达到了转动螺纹杆带动按压块升降的效果,实现了对透析管管口进行固定的功能,便于老年人将两个透析管管口对接到一起;通过操作仓本体和放大镜的配合作用,达到了放大镜安装在按压块上方的效果,实现了方便老花眼的老年人将两个透析管管口对接到一起的功能。
【技术领域】:
本实用新型涉及操作仓技术领域,更具体地说,特别涉及一种便携式腹膜透析操作仓。
【实用新型内容】:
本实用新型的目的是为了解决现有技术中存在的问题,而提出的一种便携式腹膜透析操作仓。
为了实现上述目的,本实用新型采用了如下技术方案:
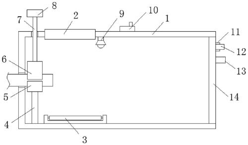
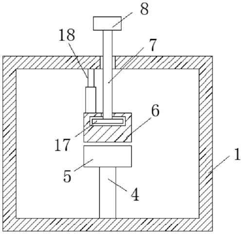
一种便携式腹膜透析操作仓,包括操作仓本体,所述操作仓本体的一端内底部固定连接有支撑杆,所述支撑杆的顶部固定连接有支撑块,所述操作仓本体靠近支撑块的一端通过升降机构连接有按压块,所述按压块的底部和支撑块顶部均设有呈弧形设置的固定槽,两个所述固定槽匹配设置,所述操作仓本体靠近支撑块的一侧设有放置口,所述操作仓本体的内底部固定连接有消毒机构,所述操作仓本体的顶部安装有放大镜,所述操作仓本体上设有与放大镜对应的安装口;
所述操作仓本体远离支撑块的一端内侧壁固定连接固定板,所述操作仓本体靠近固定板的一端内侧壁转动连接有转动门板,所述转动门板通过连接机构与固定板连接,所述固定板和转动门板上均设有呈半圆形设置的贯穿口,两个所述贯穿口匹配设置。
优选地,所述升降机构包括固定螺纹连接在操作仓本体靠近支撑块一端的螺纹杆,所述螺纹杆的底部依次贯穿操作仓本体和按压块并固定连接有转动块,所述按压块上设有与转动块对应的转动空腔,所述按压块上设有与螺纹杆对应的转动口,所述转动空腔与转动口相通,所述按压块通过伸缩杆与操作仓本体的内顶部连接,所述螺纹杆的顶部固定连接有把手。
优选地,所述消毒机构包括固定连接在操作仓本体一端内底部的紫外线消毒灯。
优选地,所述连接机构包括固定连接在转动门板外侧壁的呈L型设置的固定块,所述固定板的外侧壁固定连接有磁铁,所述磁铁和固定块吸合连接。
优选地,所述转动门板的外侧壁固定连接有固定柱。
优选地,所述贯穿口的内侧壁固定连接有呈半圆形设置硅胶圈。
优选地,所述操作仓本体的内顶部固定连接有LED照明灯,所述操作仓本体的顶部固定连接有控制开关,所述LED照明灯与控制开关电性连接。
优选地,所述固定槽的内侧壁固定连接有凸块。
本实用新型的实施例提供的技术方案可以包括以下有益效果:
1、通过支撑杆、支撑块、按压块、转动块、螺纹杆、把手、伸缩杆和凸块的配合作用,达到了转动螺纹杆带动按压块升降的效果,实现了对透析管管口进行固定的功能,便于老年人将两个透析管管口对接到一起;
2、通过操作仓本体和放大镜的配合作用,达到了放大镜安装在按压块上方的效果,实现了方便老花眼的老年人将两个透析管管口对接到一起的功能。
【附图】:































