授权专利
【实用新型】一种留置尿管固定的装置
专利号:CN201921687846.1
申请日:20191010
发明人:王平; 王晓静
法律状态:授权
公开号:CN211611243U
授权公告日:2020-10-02
交易方式:转让; 许可
【摘要】:
本实用新型涉及留置尿管固定技术领域,具体地说,涉及一种留置尿管固定的装置,包括固定垫,固定垫为矩形结构,固定垫的底部紧密粘接有粘贴层,固定垫的顶部设置有矩形的导管固定贴,固定垫的顶部位于导管固定贴的两侧分别开设有第一导管固定槽和第二导管固定槽,导管固定贴的一端紧密粘接有连接条,连接条远离导管固定贴的一侧与固定垫的顶部表面紧密粘接;固定垫的顶部靠近导管固定贴的下方开设有矩形的撕开口,撕开口的内部设置有矩形的柔性垫,柔性垫的表面两侧对称紧密粘接有第一粘贴带。本实用新型的设计能够将导管进行固定,保证导管不易滑脱,能够避免在固定时对导管造成挤压,从而避免导管长期固定造成变形。
【技术领域】:
本实用新型涉及留置尿管固定技术领域,具体地说,涉及一种留置尿管固定的装置。
【实用新型内容】:
本实用新型的目的在于提供一种留置尿管固定的装置,以解决上述背景技术中提出的某种或某些缺陷。
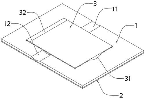
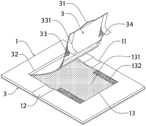
为实现上述目的,本实用新型提供了一种留置尿管固定的装置,包括固定垫,所述固定垫为矩形结构,所述固定垫的底部紧密粘接有粘贴层,所述固定垫的顶部设置有矩形的导管固定贴,所述固定垫的顶部位于导管固定贴的两侧分别开设有第一导管固定槽和第二导管固定槽,所述导管固定贴的一端紧密粘接有连接条,所述连接条远离导管固定贴的一侧与固定垫的顶部表面紧密粘接;所述固定垫的顶部靠近导管固定贴的下方开设有矩形的撕开口,所述撕开口的内部设置有矩形的柔性垫,所述柔性垫的表面两侧对称紧密粘接有第一粘贴带,所述导管固定贴的底面靠近第一粘贴带处紧密粘接有第二粘贴带,所述第二粘贴带的外表面粘贴有离型膜,当离型膜撕开时,所述第一粘贴带与第二粘贴带紧密粘接。
作为优选,所述导管固定贴远离连接条的一端紧密粘接有撕开端,所述撕开端为圆弧形结构。
作为优选,所述第一导管固定槽和第二导管固定槽的底部为向下凹陷的弧面结构。
作为优选,所述导管固定贴的尺寸小于撕开口的尺寸。
作为优选,所述柔性垫的外侧与撕开口的内壁紧密粘接。
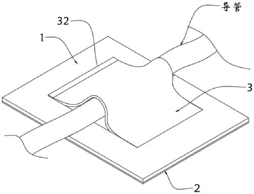
作为优选,所述撕开口与导管固定贴之间放置导管,导管的两端分别穿过第一导管固定槽和第二导管固定槽。
作为优选,所述导管固定贴的底面靠近导管处紧密粘接有橡胶垫。
与现有技术相比,本实用新型的有益效果:
1、该留置尿管固定的装置中,通过导管固定贴能够将导管进行固定,保证导管不易滑脱。
2、该留置尿管固定的装置中,通过柔性垫和橡胶带能够避免在固定时对导管造成挤压,从而避免导管长期固定造成变形影响排尿。
【附图】:




























