授权专利
【实用新型】穴位按摩催乳治疗仪
专利号:CN201921533529.4
申请日:20190916
发明人:马海舰
法律状态:授权
公开号:CN210812506U
授权公告日:2020-06-23
交易方式:转让; 许可
【摘要】:
本实用新型公开了穴位按摩催乳治疗仪,包括硅胶指套,所述硅胶指套上部设有透明指盖,所述透明指盖上设有半透明定位线,所述硅胶指套中靠近定位线处嵌入设有按摩装置,所述硅胶指套下部连接设有电池盒。本实用新型与现有技术相比的优点在于:指套主体是硅胶软套,方便穿戴,贴合皮肤,透明指盖上的定位线对标指甲缝,辅助患者准确定位少泽穴,振动马达可自动按摩穴位,利用传统中医手段结合现代技术,达到了疗效好、携带方便、穿戴舒适和使用方便的效果。
【技术领域】:
本实用新型涉及医疗设备技术领域,具体是指穴位按摩催乳治疗仪。
【实用新型内容】:
本实用新型要解决的技术问题是解决上述问题,提供一种可随身携带、使用方便、穿戴舒适、催乳效果好的穴位按摩催乳治疗仪。
为解决上述技术问题,本实用新型提供的技术方案为:穴位按摩催乳治疗仪,包括硅胶指套,所述硅胶指套上部设有透明指盖,所述透明指盖上设有半透明定位线,所述硅胶指套中靠近定位线处嵌入设有按摩装置,所述硅胶指套下部连接设有电池盒。
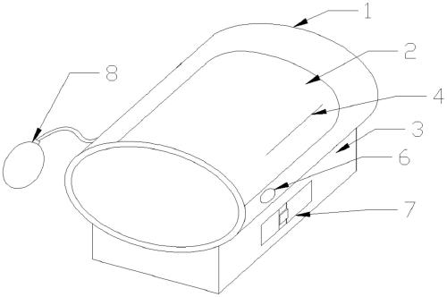
作为改进,所述按摩装置包括扁平振动马达和按摩凸起,所述按摩凸起连接在扁平振动马达上,所述按摩凸起凸向硅胶指套内侧,扁平振动马达是一种微型振动马达,常用于手机、保健按摩器和玩具等小型装置,按摩凸起紧贴着小指末节尺侧距指甲角0.1寸的少泽穴,利用扁平振动马达的振动对少泽穴进行按摩。
作为改进,所述电池盒内设有电池,所述电池盒外侧设有无级调速开关,所述无极调速开关分别与电池、扁平振动马达电连接,无级调速开关可调节扁平振动马达的振动强度。
作为改进,所述硅胶指套内壁上设有气囊,所述气囊上连接设有手捏充气球,气囊充气后可包裹小指起到收紧固定作用,防止指套滑脱。
本实用新型与现有技术相比的优点在于:指套主体是硅胶软套,方便穿戴,贴合皮肤,透明指盖上的定位线对标指甲缝,辅助患者准确定位少泽穴,振动马达可自动按摩穴位,利用传统中医手段结合现代技术,达到了疗效好、携带方便、穿戴舒适和使用方便的效果。
【附图】:




























