授权专利
【实用新型】输液提示器
专利号:CN201921941987.1
申请日:20191111
发明人:张小利
法律状态:授权
公开号:CN211327445U
授权公告日:2020-08-25
交易方式:转让; 许可
【摘要】:
本申请公开了一种输液提示器,包括输液提示器壳体;内设计算模块和控制模块、外设液晶显示屏、电源键、扬声器和按键;通过计算模块得到输液时间显示在时间液晶显示屏上;当显示输液时间为零时扬声器发出警报;还包括独立的关闭装置,输液管贯穿穿孔与关闭装置连接;关闭装置还包括位于穿孔两侧的伸缩结构,当显示输液时间为零时,控制模块发送关闭指令给关闭装置,关闭装置分别给第一伸缩结构和第二伸缩结构不同的信号,使其电磁极性不同,相互吸引使输液管关闭。本实用新型公开的输液提示器针对不同的药品所需的流速以及容量,得到所需输液的时间,通过蜂鸣器报警示意,通过关闭装置关闭输液管,防止输液过量或防止血液回流等问题。
【技术领域】:
本实用新型属于医疗用品技术领域,本实用新型为输液提示器。
【实用新型内容】:
本实用新型的目的是提供一种输液提示器,
技术方案如下:一种输液提示器,包括输液提示器壳体;
所述输液提示器壳体内设计算模块和控制模块、外设液晶显示屏、电源键、扬声器和按键;
所述输液提示器壳体的结构为一个立方体,包括前表面、后表面、上表面、下表面、左表面和右表面;
所述电源键位于所述输液提示器壳体的所述左表面上,通过所述电源键控制电源的关闭和开启;
所述按键设置在所述输液提示器壳体的所述上表面,用于输入液滴流速和容量;
所述液晶显示屏位于所述输液提示器壳体的所述前表面,包括流速液晶显示屏、容量液晶显示屏,时间液晶显示屏,所述流速液晶显示屏、所述容量液晶显示屏和所述时间液晶显示屏依次并列设置在所述输液提示器壳体的所述前表面,根据所述按键输入的所述流速,将所述流速显示在所述流速液晶显示屏上,根据所述按键输入的所述容量,将所述容量显示在所述容量液晶显示屏上,同时根据所述按键输入的流速和容量,通过所述计算模块得到输液时间,将所述输液时间显示在所述时间液晶显示屏上;
所述扬声器位于所述输液提示器壳体的所述右表面,当所述时间液晶显示屏显示输液时间为零时,所述扬声器发出警报;
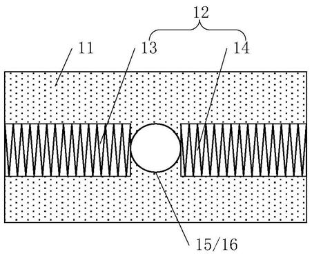
还包括一个独立的关闭装置,所述关闭装置包括一个穿孔,所述穿孔与输液管相匹配,所述输液管贯穿所述穿孔与所述关闭装置连接;
所述关闭装置还包括位于所述穿孔两侧的伸缩结构,所述伸缩结构包括第一伸缩结构和第二伸缩结构;
当所述时间液晶显示屏显示输液时间为零时,所述控制模块发送关闭指令给所述关闭装置,所述关闭装置分别给所述第一伸缩结构和所述第二伸缩结构不同的信号,使所述第一伸缩结构和所述第二伸缩结构电磁极性不同,相互吸引使所述输液管关闭。
优选的,所述输液提示器壳体的所述后表面包括粘接部。
优选的,所述输液提示器壳体的所述后表面包括夹合部。
优选的,所述按键包括数字键和删除键。
优选的,所述输液提示器壳体的结构为一个长方体。
优选的,所述液晶显示屏的大小与所述输液提示器壳体的所述前表面的大小相同。
与现有实用新型相比,本实用新型提供的输液提示器,有如下有益效果:
本实用新型公开的输液提示器可以针对不同的药品所需的流速以及容量,得到所需要进行输液的时间,通过蜂鸣器报警示意,同时通过关闭装置及时关闭输液管,防止输液过量或者防止血液回流等问题。
【附图】:





























