授权专利
【实用新型】气压止血带
专利号:CN201921515016.0
申请日:20190911
发明人:郭文杰
法律状态:授权
公开号:CN210903208U
授权公告日:2020-07-03
交易方式:转让; 许可
【摘要】:
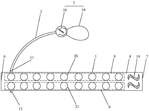
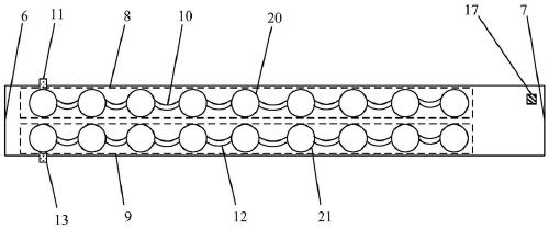
本申请公开了一种气压止血带,包括带状本体、充气管、以及充气装置;带状本体包括第一侧和第二侧,第一端和第二端;第一侧设有并列设置的第一气囊组和第二气囊组;第一气囊组包括多个第一气囊,第一气囊之间通过第一导气管相连接,第一气囊组上设有第一防漏气阀;第二气囊组包括多个第二气囊,第二气囊之间通过第二导气管相连接,第二气囊组上设有第二防漏气阀;设有第一粘扣和第二粘扣,第一粘扣与第二粘扣相粘接;充气管与第一防漏气阀或第二防漏气阀可拆卸连接;充气装置上设有压力表。本实用新型中可以只充一排气囊组,可以同时充两排气囊组;无需根据不同止血量和所需压力更换不同的止血带,一带多用,节省成本、操作便捷。
【技术领域】:
本实用新型属于医疗器械技术领域,尤其涉及一种气压止血带。
【实用新型内容】:
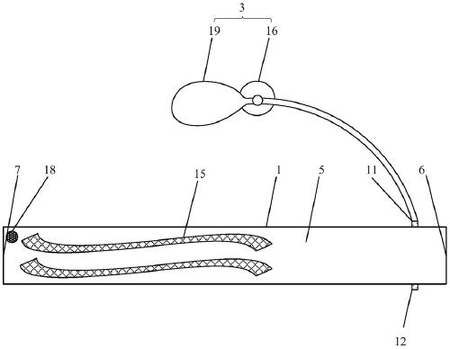
本实用新型公开了一种气压止血带,包括带状本体、充气管、以及充气装置,其中,
所述带状本体包括第一侧和第二侧,第一端和第二端;所述第一侧设有并列设置的第一气囊组和第二气囊组;所述第一气囊组包括多个第一气囊,所述第一气囊之间通过第一导气管相连接,所述第一气囊组上设有第一防漏气阀;所述第二气囊组包括多个第二气囊,所述第二气囊之间通过第二导气管相连接,所述第二气囊组上设有第二防漏气阀;所述第一侧靠近所述第二端设有第一粘扣,所述第二侧靠近所述第一端设有第二粘扣,所述第一粘扣与所述第二粘扣相粘接;
所述充气管与所述第一防漏气阀或所述第二防漏气阀可拆卸连接;
所述充气装置上设有压力表,并与所述充气管可拆卸连接。
优选地,所述第一侧靠近所述第一端设有压力传感器。
优选地,所述第二侧靠近第一端设有报警器,所述报警器与所述压力传感器相连接。
优选地,所述充气装置为充气球囊。
优选地,所述第一粘扣和所述第二粘扣的形状为波浪形。
优选地,还包括外衣,所述外衣与所述带状本体相配合包裹在所述带状本体外部。
优选地,所述外衣的材质为防水布料。
与现有技术相比,本实用新型提供的气压止血带,有如下有益效果:
第一,本实用新型具有并列的两排气囊组,当止血量较小时,无需太大压力时,可以只充一排气囊组;当止血量大时,需要压力较大时,可以同时充两排气囊组;无需根据不同止血量和所需压力更换不同的止血带,一带多用,节省成本、操作便捷。
第二,本实用新型的充气装置设有压力表,可以随时观测充气压力,便于更好的控制充气量,防止过度充气,对患者造成伤害。
第三,本实用新型中的止血带设有多个气囊,既起到加压止血的作用,又避免了止血带全部紧压患者造成血液不流通。
第四,本实用新型的气压止血带设有压力传感器和报警器,可以随时监测气囊中的压力,当气囊中压力过低时,可以通过报警器及时报警提醒,防止因气囊压力不够造成无法及时止血。
第五,本实用新型中的粘扣为波浪形,既起到粘贴固定的作用,又减小了粘扣之间的接触面积,减小了打开粘扣之间的作用力,操作更方便快捷。
【附图】:





























