授权专利
【实用新型】呼吸管路及无创呼吸系统
专利号:CN201921207936.6
申请日:20190729
发明人:韩莹
法律状态:授权
公开号:CN210904526U
授权公告日:2020-07-03
交易方式:转让; 许可
【摘要】:
本申请提供了一种呼吸管路及无创呼吸系统,涉及医疗器械领域,包括:鼻塞,包括主管和形成于主管的侧部的与主管连通的两个支管,两个支管能够伸入患者的鼻腔为患者供气;以及第一垫片,由柔性材料形成并形成有贯穿第一垫片的两个通孔,第一垫片至少包覆于主管的待与患者的皮肤接触的部分,两个支管分别贯穿两个通孔。本申请通过于鼻塞的待与患者的皮肤接触的部分设置由柔性材料的第一垫片,一定程度上解决现有技术中因管路的材质偏硬导致的患者皮肤出现压疮的技术问题。
【技术领域】:
本申请涉及医疗器械领域,尤其是涉及一种呼吸管路及无创呼吸系统。
【实用新型内容】:
本申请的目的在于提供一种呼吸管路及无创呼吸系统,其在一定程度上解决现有技术中因管路的材质偏硬导致的患者皮肤出现压疮的技术问题。
为使本申请的上述目的、特征和优点能更明显易懂,下文特举较佳实施例,并配合所附附图,作详细说明如下。
第一方面,本申请提供了一种呼吸管路,包括:
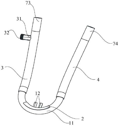
鼻塞,包括主管和形成于所述主管的外侧部并与所述主管连通的两个支管,两个所述支管用于伸入患者的鼻腔;以及
第一垫片,所述第一垫片由柔性材料形成并形成有贯穿所述第一垫片的两个通孔,所述第一垫片至少包覆于所述主管的待与患者的皮肤接触的部分,两个所述支管分别贯穿两个所述通孔。
优选地,所述呼吸管路还包括第一通气管和第二通气管,所述第一通气管的第一端和所述第二通气管的第一端分别连接于所述主管的第一端和第二端,以使所述第一通气管和所述第二通气管与所述主管连通;所述第一通气管和所述第二通气管由柔性材料形成。
优选地,所述主管的形状为筒形状;
所述呼吸管路还包括第一弯接头和第二弯接头,所述第一弯接头连接所述第一通气管的第一端与所述主管的第一端,所述第二弯接头连接所述第二通气管的第一端与所述主管的第二端。
优选地,所述第一弯接头和所述第二弯接头分别与所述第一通气管的第一端和所述第二通气管的第一端一体成型,或者;
所述第一弯接头和所述第二弯接头分别与所述主管的第一端和所述主管的第二端一体成型。
优选地,所述主管的形状为弧形。
优选地,所述第一通气管的外侧部形成有被密封的检测管,所述呼吸管路还包括压力管和导气部件;
所述导气部件安装于所述检测管的管口且内部形成有贯穿自身的通道,所述压力管贯穿所述通道且延伸经过两个所述支管所在的位置并至少延伸至所述主管的第二端。
优选地,所述呼吸管路还包括固定带,所述固定带将所述第一通气管和所述第二通气管固定于患者的额部的两侧。
优选地,所述呼吸管路还包括由柔性材料形成的第二垫片,所述第二垫片至少包覆于所述第一通气管和所述第二通气管的待与患者的额部接触的部分。
第二方面,本申请还提供一种无创呼吸系统,包括无创呼吸机以及根据以上所述的呼吸管路,所述第一通气管的第二端和所述第二通气管的第二端分别与所述无创呼吸机连通。
优选地,所述无创呼吸机还包括第一呼吸机接头和第二呼吸机接头,所述第一呼吸机接头连接所述第一通气管的第二端与所述无创呼吸机,所述第二呼吸机接头连接所述第二通气管的第二端与所述无创呼吸机。
本申请提供的呼吸管路及无创呼吸系统,通过至少在鼻塞的待与患者的皮肤接触的部分设置由柔性材料形成的第一垫片,一定程度上解决现有技术中因管路的材质偏硬导致的患者皮肤出现压疮的技术问题。
【附图】:
































