授权专利
【实用新型】预防足下垂的可调节床
专利号:CN201922027362.0
申请日:20191120
发明人:强平涛
法律状态:授权
公开号:CN211156803U
授权公告日:2020-08-04
交易方式:转让; 许可
【摘要】:
本申请公开了一种预防足下垂的可调节床,包括床体,床体包括床头、床尾和床板,床尾一体设置有可调节装置;可调节装置包括第一支撑部和第二支撑部,第一支撑部与第二支撑部转动连接;第一支撑部包括第一支撑板;第二支撑部包括顺次垂直连接的第一支撑架、第二支撑架和第三支撑架;第一支撑架上设有多个第一通孔,第三支撑架上设有多个第二通孔;第一支撑部还包括第一支撑杆和第二支撑杆,第一支撑杆一端与第二端面转动连接、另一端与第一通孔相卡合,第二支撑杆一端与第四端面转动连接、另一端与第二通孔相卡合。本实用新型中的可调节装置中的第一支撑板可与床板呈多种角度,以此达到帮助患者脚部运动,预防患者脚部足下垂。
【技术领域】:
本实用新型属于医疗器械技术领域,尤其涉及一种预防足下垂的可调节床。
【实用新型内容】:
本实用新型公开了一种预防足下垂的可调节床,包括床体,所述床体包括床头、床尾和床板,所述床尾一体设置有可调节装置,其中,
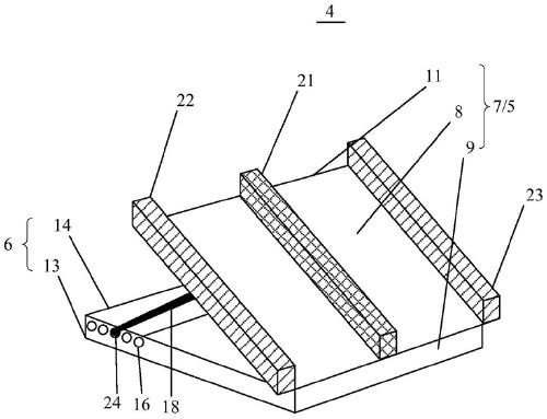
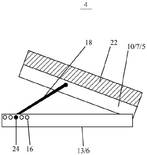
所述可调节装置包括第一支撑部和第二支撑部,所述第一支撑部与所述第二支撑部转动连接;所述第一支撑部包括第一支撑板,所述第一支撑板包括相对设置的第一面和第二面、以及围绕所述第一面和所述第二面顺次垂直连接的第一端面、第二端面、第三端面和第四端面,所述第一面靠近所述床头,所述第一端面靠近所述床板;所述第二支撑部包括顺次垂直连接的第一支撑架、第二支撑架和第三支撑架,所述第一支撑架远离所述第二支撑架一端与所述第二端面靠近所述第一端面一端转动连接,所述第三支撑架远离所述第二支撑架一端与所述第四端面靠近所述第一端面一端转动连接;所述第一支撑架靠近所述第二支撑架一侧设有多个第一通孔,所述第三支撑架靠近所述第二支撑架一侧设有多个第二通孔;所述第一支撑部还包括第一支撑杆和第二支撑杆,所述第一支撑杆一端与所述第二端面转动连接、另一端与所述第一通孔相卡合,所述第二支撑杆一端与所述第四端面转动连接、另一端与所述第二通孔相卡合。
优选地,在垂直于所述床板所在平面的方向上,所述第一支撑板的正投影位于所述第二支撑部的正投影之内。
优选地,所述第一面上设有滑槽,所述滑槽垂直于所述第一端面所在平面。
优选地,所述可调节装置还包括第二支撑板,所述第二支撑板与所述滑槽滑动连接。
优选地,在垂直于所述床板所在平面的方向上,所述第二支撑板的正投影位于所述第二支撑部的正投影之内。
优选地,所述可调节装置还包括第三支撑板和第四支撑板,所述第三支撑板与所述第二端面转动连接,所述第四支撑板与所述第四端面转动连接。
优选地,所述第一支撑杆远离所述第一支撑板一端设有第一凸起,所述第一凸起与所述第一通孔相卡合;所述第二支撑杆远离所述第一支撑板一端设有第二凸起,所述第二凸起与所述第二通孔相卡合。
优选地,所述第一面设有硅胶层。
优选地,所述第二支撑板外表面设有硅胶层。
优选地,所述第三支撑板和所述第四支撑板外表面设有硅胶层。
与现有技术相比,本实用新型提供的预防足下垂的可调节床,有如下有益效果:
第一,本实用新型中的可调节装置中的第一支撑板可与床板呈多种角度,以此达到帮助患者脚部运动,预防患者脚部足下垂。
第二,本实用新型中的第二支撑板、第三支撑板和第四支撑板可辅助固定患者脚部,防止患者脚部向两侧歪斜从可调节装置上滑落。
第三,本实用新型中第一支撑架和第三支撑架上设有多个第一通孔和第二通孔,通过第一支撑杆和第二支撑杆分别和第一通孔和第二通孔相卡合来调节第一支撑板与床板之间的角度,操作简单、快捷。
第四,本实用新型中的可调节装置制作简单,各零部件结实耐用,并且容易组装、更换。
第五,本实用新型中的可调节装置与床尾一体化设置,不占用床的空间,适合和各种身高的患者、以及各种类型的床。
【附图】:






























