授权专利
【实用新型】软式内镜管道灌洗连接装置
专利号:CN201720597409.5
申请日:20170526
发明人:孙巍
法律状态:授权
公开号:CN206897990U
授权公告日:2018-01-19
交易方式:转让; 许可
【摘要】:
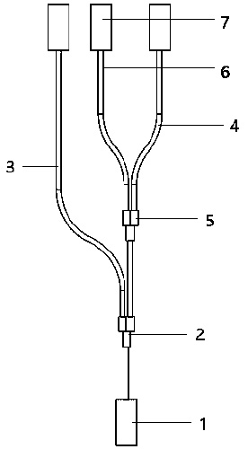
带有附送水管道的软式内镜有三条管道,分别是活检管道、送气送水管道和附送水管道,目前全管道清洗灌注装置只能清洗同时清洗活检管道和送气送水管道。附送水管道则是采用单独手工清洗或是单独与自动灌注器相连接进行清洗,十分费时费力。本实用新型提供一种软式内镜管道灌洗连接装置,包括管道灌流装置连接管、三通A、活检管道连接管、送气送水管道连接管、三通B、附送水管道连接管、接头,其中活检管道连接管、送气送水管道连接管、附送水管道连接管分别通过三通A和三通B与管道灌流装置连接管相连,形成可以通气或通水的通路,接头位于附送水管道连接管的末端,可以与内镜上的附送水管道接口紧密连接不漏水。该实用新型产品可以一次同时清洗软式内镜的所有腔道,省时省力,值得推广。
【技术领域】:
本实用新型属医疗器械领域,主要涉及一种用于软式内镜管道灌流装置的清洗连接工具。【实用新型内容】:
本实用新型提供一种软式内镜管道灌洗连接装置,主要解决目前软式内镜附送水管道无法同时与活检管道、送气送水管道同时清洗的问题,起到节省清洗时间的主要作用。
为了达到以上目的,所采取的技术方案是:一种软式内镜管道灌洗连接装置,包括管道灌流装置连接管、三通A、活检管道连接管、送气送水管道连接管、三通B、附送水管道连接管、接头,其中活检管道连接管、送气送水管道连接管、附送水管道连接管分别通过三通A和三通B与管道灌流装置连接管相连,形成可以通气或通水的通路,接头位于附送水管道连接管的末端,可以与内镜上的附送水管道接口紧密连接不漏水。
具体技术方案一,附送水管道连接管通过三通B与送气送水管道连接管相连。
具体技术方案二,附送水管道连接管通过三通A与管道灌流装置连接管相连,活检管道连接管与送气送水管道连接管通过三通B相连后,再通过一段软管与三通A相连,与管道灌流装置连接管形成回路。
本实用新型的有益效果是:软式内镜的附送水管道清洗同活检管道和送气送水管道一样重要,所以其清洗的方法和流程应相同,不应单独配置只局限于手工清洗,应与自动灌流器或内镜洗消机结合使用才能保证清洗质量和节省人力。本实用新型提供灌流管道三腔连接装置,可以一次同时清洗软式内镜的所有腔道,省时省力,值得推广。
【附图】:


























