授权专利
【实用新型】一种心内科临床引流穿刺设备
公开(公告)号: CN211068252U
摘要附图:

标题: 一种心内科临床引流穿刺设备
专利类型: 实用新型
申请日: 2019-07-12
公开(公告)日: 2020-07-24
当前申请(专利权)人: 首都医科大学附属北京潞河医院
IPC分类号: A61M1/00 | A61B17/34
法律状态/事件: 授权
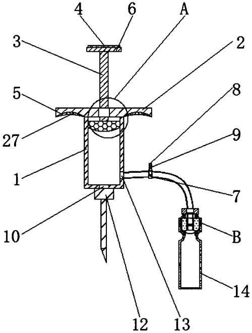
技术功效: [0013]本实用新型提供了一种心内科临床引流穿刺设备,具备以下有益效果:该心内科临床引流穿刺设备,通过推杆和推盘的配合,达到了对推杆的抽拉,提高了对积液的抽取,通过固定孔和引流管的配合达到了积液会从引流管进入到收集瓶的内部,提高了对积液的引流工作,避免了积液回流,销轴和支撑板的配合,达到了卡板对收集瓶的卡紧,避免收集瓶脱落的现象,通过弹簧的和固定柱的配合,达到了对卡板的张开,起到了对收集瓶的固定更好的收集积液,通过弹簧和卡板的配合达到了对收集瓶进行快速更换,通过插板达到了更方便的插入到收集瓶的内部,降低了医护人员的工作量,提高了工作效率。
摘要: 本实用新型公开了一种心内科临床引流穿刺设备,包括引流筒,所述引流筒的内底壁开设有第一通孔,所述引流筒的底面固定连接有引流穿刺针,所述引流筒的右侧面开设有固定孔,所述引流筒的上表面固定连接有压板,所述压板的上表面开设有第二通孔,所述引流筒的内部放置有抽盘,所述引流筒的上方设有推杆,所述推杆的顶端固定连接有推盘,所述推杆的底端贯穿第二通孔并延伸至引流筒的内部,所述推杆的底端与抽盘的上表面固定连接,所述引流筒的右侧设有固定板。该心内科临床引流穿刺设备,通过弹簧和卡板的配合达到了对收集瓶进行快速更换,通过插板达到了更方便的插入到收集瓶的内部,降低了医护人员的工作量,提高了工作效率。

























